授权公布号:CN102194436B
DDC接口隔离保护电路
有效
申请
2011-04-18
申请公布
2011-09-21
授权
2015-09-16
预估到期
2031-04-18
| 申请号 | CN201110096527.5 |
| 申请日 | 2011-04-18 |
| 申请公布号 | CN102194436A |
| 申请公布日 | 2011-09-21 |
| 授权公布号 | CN102194436B |
| 授权公告日 | 2015-09-16 |
| 分类号 | G09G5/00;G06F3/14 |
| 分类 | 教育;密码术;显示;广告;印鉴; |
| 申请人名称 | 北京彩讯科技股份有限公司 |
| 申请人地址 | 北京市海淀区东北旺西路8号中关村软件园8号楼301室 |
专利法律状态
2015-09-16
授权
状态信息
授权
2013-11-27
著录事项变更
状态信息
著录事项变更;IPC(主分类):G09G5/00;变更事项:申请人;变更前:北京彩讯科技股份有限公司;变更后:北京彩讯科技股份有限公司;变更事项:地址;变更前:100085 北京市海淀区上地三街9号金隅嘉华大厦C座10层1009室;变更后:100094 北京市海淀区东北旺西路8号中关村软件园8号楼301室
2013-03-27
实质审查的生效
状态信息
实质审查的生效;IPC(主分类):G09G5/00;申请日:20110418
2011-09-21
公布
状态信息
公布
摘要
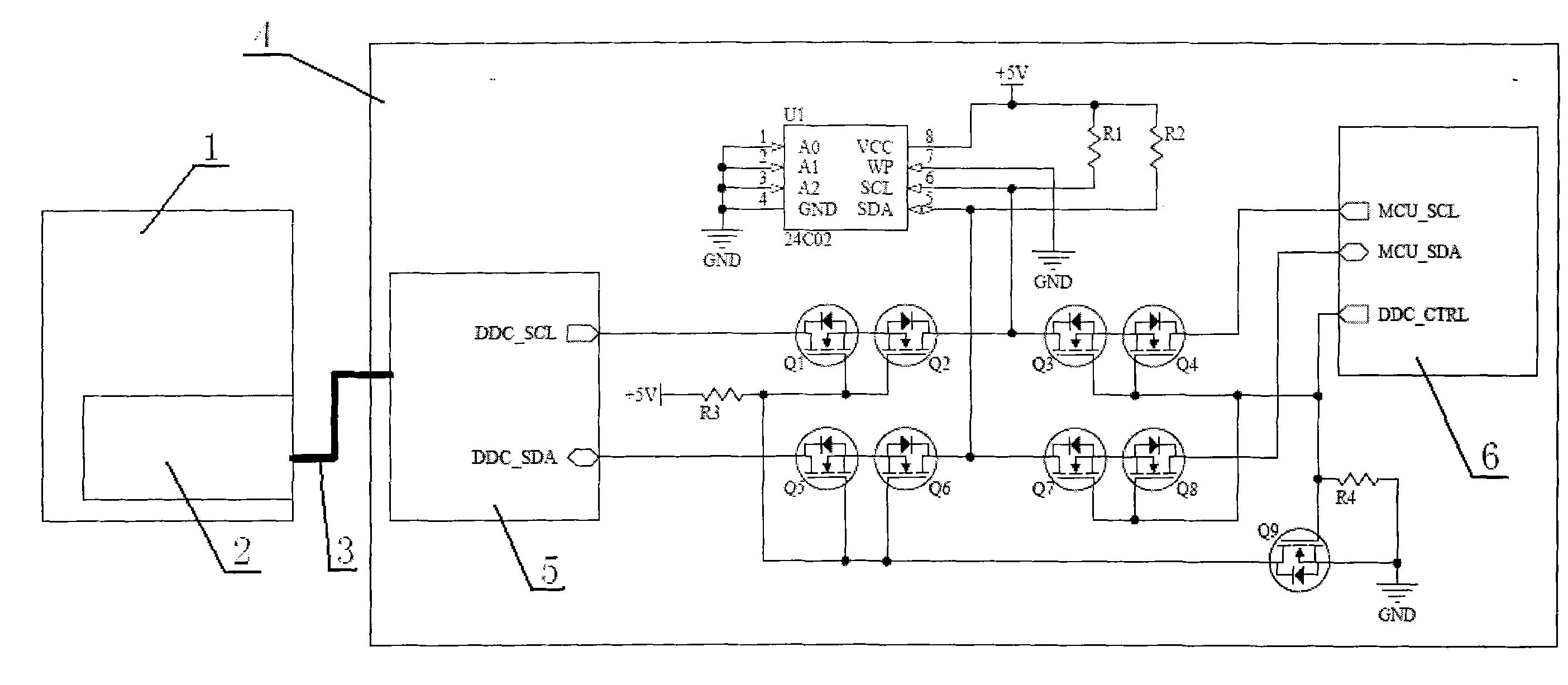
本发明涉及一种视频信号接口电路,本发明公开了一种DDC接口隔离保护电路,在视频信号输入接口上的DDC接口与视频信号接收设备E-EDID信息存储体的I2C接口之间的每条信号线上,连接有双向隔离器,该双向隔离器连接有上拉电阻,所述视频信号接收设备E-EDID信息存储体连接有上拉电阻;在视频信号接收设备E-EDID信息存储体的I2C接口与视频信号接收设备本地控制核心的I2C接口之间的每条信号线上,连接有双向隔离器,所述视频信号接收设备本地控制核心连接有下拉电阻和场效应管。本发明增加了保护电路,确保各部分电路之间,在电气特性上、数据读写操作上不会有冲突,防止丢失数据,便于维修。


