授权公布号:CN217385819U
一种激光发生器固定结构
有效
申请
2021-12-30
申请公布
1970-01-01
授权
2022-09-06
预估到期
2031-12-30
| 申请号 | CN202123437123.6 |
| 申请日 | 2021-12-30 |
| 授权公布号 | CN217385819U |
| 授权公告日 | 2022-09-06 |
| 分类号 | G01S7/48 |
| 分类 | 测量;测试; |
| 申请人名称 | 映飞星(上海)智能科技有限公司 |
| 申请人地址 | 上海市嘉定区南翔镇蕰北公路1755弄37号1层A区 |
专利法律状态
2022-09-06
授权
状态信息
授权
摘要
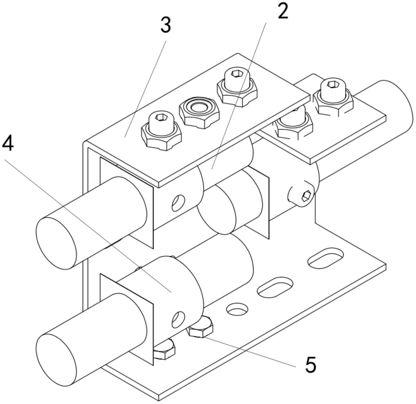
本实用新型涉及一种激光发生器固定结构,包括壳体,壳体内部设置有若干个激光发生器和安装支架,每一个所述激光发生器上均设置有固定套筒,所述固定套筒与安装支架可拆卸连接,所述安装支架的底端设置有固定孔,所述壳体的顶端设置有防尘罩,该防尘罩与壳体的连接处设置有密封垫,所述壳体的底端设置有支撑杆,该支撑杆的底端设置有底座,该底座与外界设备可拆卸连接。本实用新型中安装支架和三个激光发生器的配合设计使得发射的光束面积更大,当激光束直径大于晃动幅度,就能保住稳定接收,排出干扰,另外,其分别通过螺栓连接,方便了对其安装和拆卸。


