授权公布号:CN212367736U
一种方便高空穿线的显示屏箱体
有效
申请
2020-07-31
申请公布
1970-01-01
授权
2021-01-15
预估到期
2030-07-31
| 申请号 | CN202021560953.0 |
| 申请日 | 2020-07-31 |
| 授权公布号 | CN212367736U |
| 授权公告日 | 2021-01-15 |
| 分类号 | H05K5/02;G09F9/33 |
| 分类 | 其他类目不包含的电技术; |
| 申请人名称 | 映飞星(上海)智能科技有限公司 |
| 申请人地址 | 上海市嘉定区南翔镇蕰北公路1755弄37号1层A区 |
专利法律状态
2021-01-15
授权
状态信息
授权
摘要
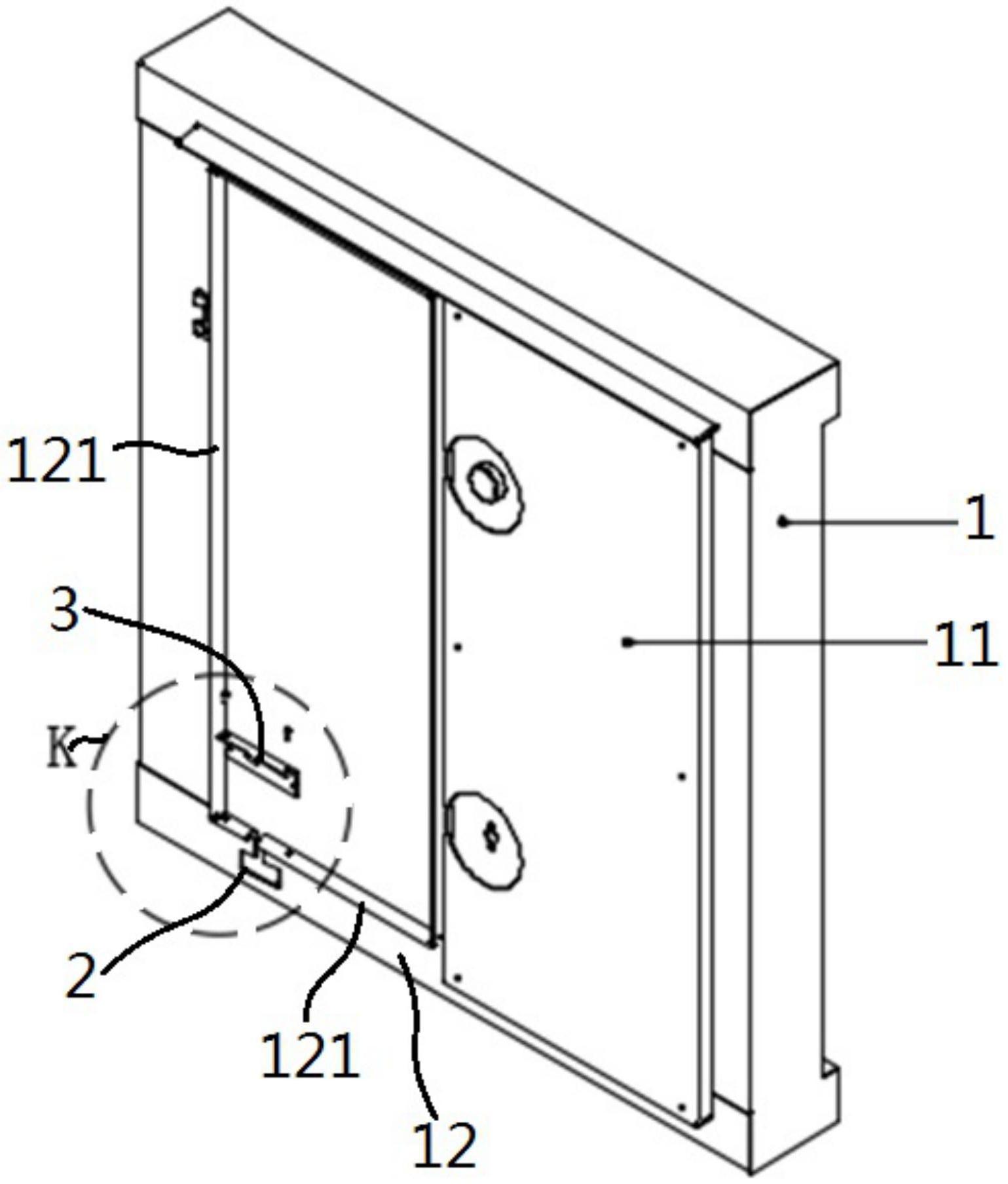
本实用新型涉及一种方便高空穿线的显示屏箱体。包括箱壳体,箱壳体具有位于后部的密封门,密封门的门框具有向外两次90°翻折的外翻沿,门框上设有穿线孔,穿线孔包括用于容纳线缆的水平长孔以及与水平长孔垂直连通的竖直缺口,竖直缺口的宽度与线缆的直径一致,竖直缺口贯通所述外翻沿,线缆可从竖直缺口滑入然后进入水平长孔中,门框上可拆连接有压线板,压线板为L形,包括用于覆盖水平长孔上半部分和竖直缺口下半部分的竖板和用于封堵竖直缺口上半部分的横板,竖板的下表面用于顶压在线缆上。具有现场接线时操作方便、快捷、防尘性能好且成本较低的优点。


