授权公布号:CN218698536U
一种便于开合的箱体
有效
申请
2022-11-18
申请公布
1970-01-01
授权
2023-03-24
预估到期
2032-11-18
| 申请号 | CN202223074694.2 |
| 申请日 | 2022-11-18 |
| 授权公布号 | CN218698536U |
| 授权公告日 | 2023-03-24 |
| 分类号 | B25H1/02;B25H1/12;E05F15/53 |
| 分类 | 手动工具;轻便机动工具;手动器械的手柄;车间设备;机械手; |
| 申请人名称 | 映飞星(上海)智能科技有限公司 |
| 申请人地址 | 上海市浦东新区龙东大道6601号 |
专利法律状态
2023-03-24
授权
状态信息
授权
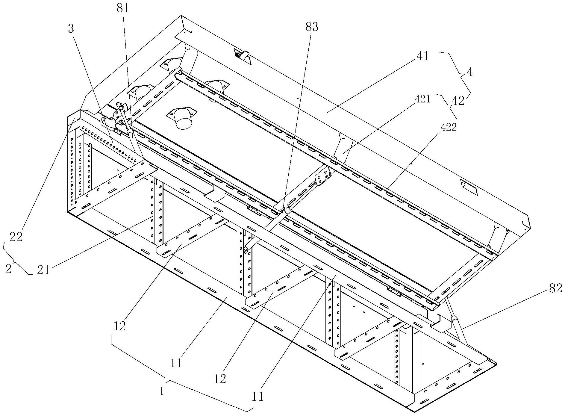
摘要
本实用新型是关于一种便于开合的箱体,其包括:底架,后连接架,连接于底架的后侧边上;箱盖,转动连接于后连接架上;所述箱盖的后侧边通过合页与后连接架相连接;所述箱盖的前侧边上设有第一锁扣件,所述底架上设有与第一锁扣件相配合的第二锁扣件,所述箱盖以合页为支点,相对于底架向下转动,当第一锁扣件与第二锁扣件相锁附时,箱盖与底架相关闭,反之,实现箱盖与底架的打开;驱动单元,所述箱盖通过所述驱动单元与底架相连接;采用上述结构后,其有益效果是:通过驱动单元,确保箱盖获得足够上翻的弹力,也确保箱盖获得适当的下压力;使得气撑杆的设置更加灵活;不受限于箱体的外形和尺寸,使得箱体开合更方便。


