授权公布号:CN218735500U
一种机柜的固定组件及机柜
有效
申请
2022-10-28
申请公布
1970-01-01
授权
2023-03-24
预估到期
2032-10-28
| 申请号 | CN202222869835.3 |
| 申请日 | 2022-10-28 |
| 授权公布号 | CN218735500U |
| 授权公告日 | 2023-03-24 |
| 分类号 | H05K5/02 |
| 分类 | 其他类目不包含的电技术; |
| 申请人名称 | 映飞星(上海)智能科技有限公司 |
| 申请人地址 | 上海市嘉定区南翔镇蕰北公路1755弄37号1层A区 |
专利法律状态
2023-03-24
授权
状态信息
授权
摘要
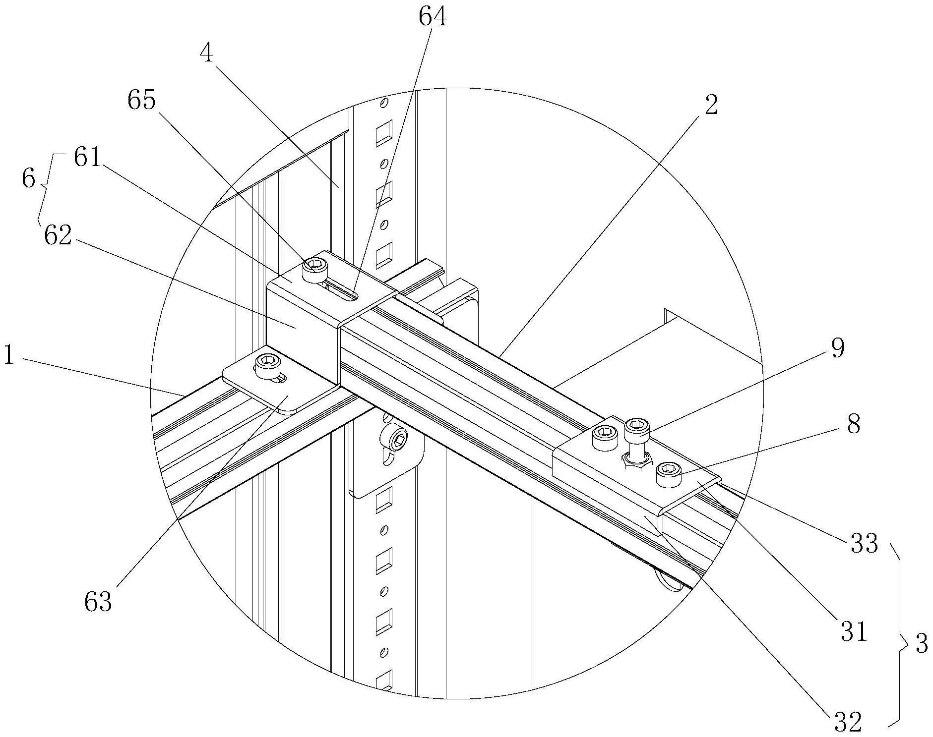
本实用新型是关于一种机柜的固定组件,其包括:连接于机柜壳体的左右两内侧上的Y轴连接件;两个Y轴连接件之间连接有X轴连接件;X轴连接件上连接有Z轴连接件;所述Y轴连接件的前后两端分别通过第一连接组件固定连接于机柜壳体上;所述X轴连接件的左右两端分别通过第二连接组件固定连接于Y轴连接件上;采用上述结构后,其有益效果是:通过X轴连接件、Y轴连接件实现设备在机柜内的X轴方向和Y轴方向的固定;通过Z轴连接件实现设备在机柜内的Z轴方向的固定,实现设备的快速安装定位,并通过各连接孔和安装孔进行微调,实现设备在机柜内安装稳定,又整洁清楚,解决安装精度的调整问题,减少工人安装难度,提高施工效率。


