授权公布号:CN213512845U
一种屏风安装用固定结构
有效
申请
2020-10-29
申请公布
1970-01-01
授权
2021-06-22
预估到期
2030-10-29
| 申请号 | CN202022454295.3 |
| 申请日 | 2020-10-29 |
| 授权公布号 | CN213512845U |
| 授权公告日 | 2021-06-22 |
| 分类号 | F16M11/04;F16M13/02 |
| 分类 | 工程元件或部件;为产生和保持机器或设备的有效运行的一般措施;一般绝热; |
| 申请人名称 | 映飞星(上海)智能科技有限公司 |
| 申请人地址 | 上海市嘉定区南翔镇蕰北公路1755弄37号1层A区 |
专利法律状态
2021-06-22
授权
状态信息
授权
摘要
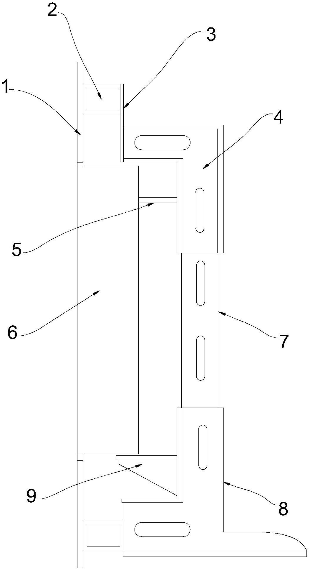
本实用新型涉及固定装置技术领域,尤其涉及一种屏风安装用固定结构,包括屏风组件、显示组件、第一支架、第二支架和连接支架;连接支架竖直设置,第一支架设置在连接支架的顶部,第二支架设置在连接支架的底部;第一支架的顶部设置有连接板,连接板上固定安装有角铁支架;第二支架上设置有支撑台,支撑台设置呈三角形;第二支架的一侧设置有角铁支架;两组角铁支架相互平行;屏风组件的上部和下部分别与两组角铁组件固定安装;屏风组件的中部形成开口;显示组件嵌入在开口处;显示组件的背部设置有定位孔;显示组件的底部与支撑台相接触;本实用新型安装方便,同时能够对显示组件的位置进行多角度调节,更加实用。


