授权公布号:CN216800343U
汽车发动机配件静电喷涂装置
有效
申请
2022-01-20
申请公布
1970-01-01
授权
2022-06-24
预估到期
2032-01-20
| 申请号 | CN202220154161.6 |
| 申请日 | 2022-01-20 |
| 授权公布号 | CN216800343U |
| 授权公告日 | 2022-06-24 |
| 分类号 | B05B16/40;B05B15/60;B05B15/68;B05B13/02;B05B12/12 |
| 分类 | 一般喷射或雾化;对表面涂覆液体或其他流体的一般方法〔2〕; |
| 申请人名称 | 山东开元电子有限公司 |
| 申请人地址 | 山东省潍坊市昌乐县城温州工业园 |
专利法律状态
2022-06-24
授权
状态信息
授权
摘要
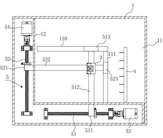
汽车发动机配件静电喷涂装置,涉及静电喷涂设备技术领域,包括箱体,箱体内设置有夹爪,夹爪用来装夹喷枪,夹爪固定在升降装置上,升降装置带动所述夹爪上下运动,箱体底部设置有底板,升降装置滑动安装在底板上,升降装置连接有第一驱动结构,第一驱动结构驱动升降装置前后左右移动。本实用新型通过设置箱体,箱体内设置有挂架,通过将工件挂在挂架上,然后将喷枪夹持在夹装上,然后根据工件大小,通过第一驱动结构调整喷枪与工件的距离,保证工件与喷枪的平均距离处于合理位置,然后开始喷涂,通过升降装置控制喷枪的上下喷涂,然后通过第一驱动结构控制升降装置水平移动,通过自动控制,可以保证每次平移后的重叠量一致,从而保证喷涂均匀。


