授权公布号:CN210590623U
一种聚酰亚胺双面覆铜板生产高温压合后预热装置
有效
申请
2019-07-31
申请公布
1970-01-01
授权
2020-05-22
预估到期
2029-07-31
| 申请号 | CN201921221357.7 |
| 申请日 | 2019-07-31 |
| 授权公布号 | CN210590623U |
| 授权公告日 | 2020-05-22 |
| 分类号 | B29C65/02;B29L7/00;B29L9/00 |
| 分类 | 塑料的加工;一般处于塑性状态物质的加工; |
| 申请人名称 | 中山新高电子材料股份有限公司 |
| 申请人地址 | 广东省中山市火炬开发区科技大道沿江路 |
专利法律状态
2020-05-22
授权
状态信息
授权
摘要
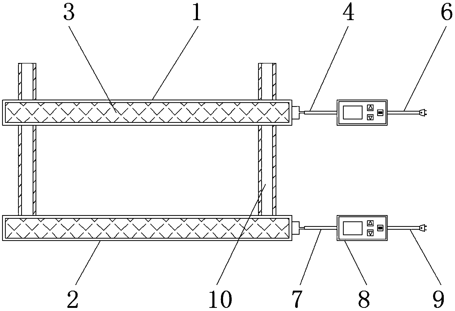
本实用新型公开了一种聚酰亚胺双面覆铜板生产高温压合后预热装置,包括上加热板和下加热板,所述上加热板和下加热板内均固定连接有加热元件,所述上加热板右端依次固定连接有第一连接线、第一温控装置和第二连接线,所述下加热板右端依次固定连接有第三连接线、第二温控装置和第四连接线。该聚酰亚胺双面覆铜板生产高温压合后预热装置,安装在高温贴合机压合轮后方,通过上加热板、下加热板、加热元件、第一温控装置和第二温控装置的配合使用,对温度进行调节,将产品从340度以上的高温平稳过渡到室温,改善产品品质,改善产品由于突然承受温差太大而导致的涨缩大,易出现褶皱等问题,上、下加热板也在一定程度上阻挡了压合轮出口的灰尘。


