授权公布号:CN210225628U
视频采集装置
有效
申请
2019-09-24
申请公布
1970-01-01
授权
2020-03-31
预估到期
2029-09-24
| 申请号 | CN201921593289.7 |
| 申请日 | 2019-09-24 |
| 授权公布号 | CN210225628U |
| 授权公告日 | 2020-03-31 |
| 分类号 | H04N21/2187 |
| 分类 | 电通信技术; |
| 申请人名称 | 南京美乐威电子科技有限公司 |
| 申请人地址 | 江苏省南京市江宁经济技术开发区胜利路89号3幢14层 |
专利法律状态
2020-03-31
授权
状态信息
授权
摘要
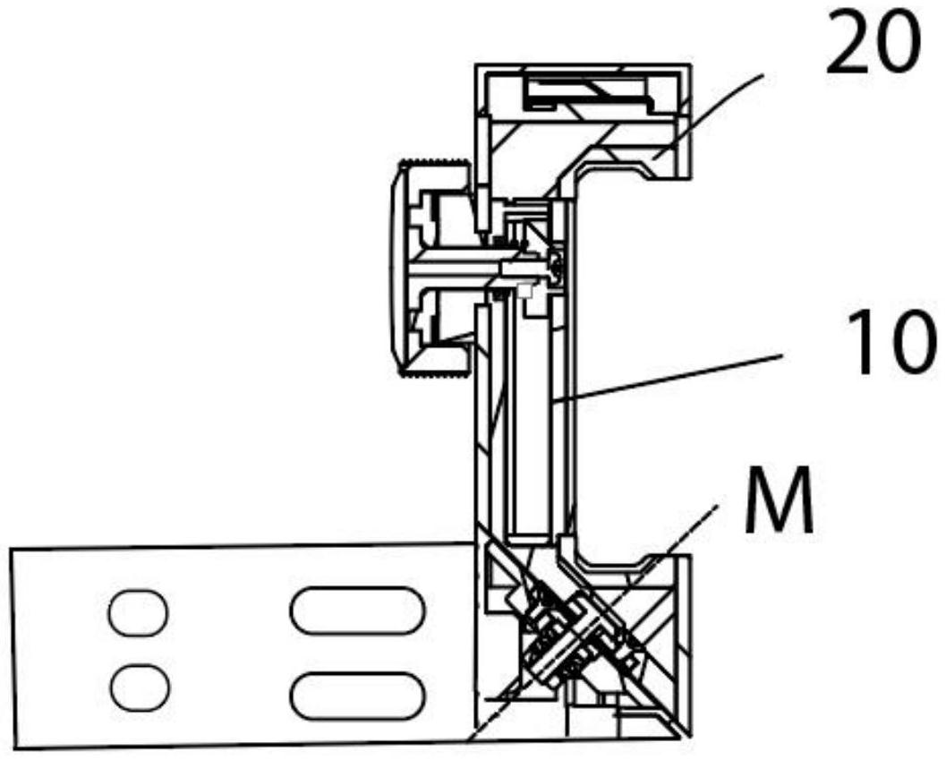
本实用新型涉及一种视频采集装置,包括夹持装置、连接装置和视频采集盒;夹持装置包括第一夹持部和第二夹持部,第一夹持部顶部与第二夹持部底部相对设置形成夹持空间;视频采集盒,视频采集盒用于采集并输出视频信号;连接装置,连接装置与第一夹持部固定连接;连接装置与视频采集盒转动连接,连接装置使得所述第一夹持部相对于所述视频采集盒旋转定位。移动终端安装在视频采集盒的夹持装置上,并且夹持装置具有多种固定位置,拓展了视频采集盒的使用范围。


