授权公布号:CN107317984B
一种方便拆卸面板的视频处理器及其安装方法
有效
申请
2017-07-27
申请公布
2017-11-03
授权
2023-03-24
预估到期
2037-07-27
| 申请号 | CN201710623310.2 |
| 申请日 | 2017-07-27 |
| 申请公布号 | CN107317984A |
| 申请公布日 | 2017-11-03 |
| 授权公布号 | CN107317984B |
| 授权公告日 | 2023-03-24 |
| 分类号 | H04N5/64;H05K5/02 |
| 分类 | 电通信技术; |
| 申请人名称 | 厦门视诚科技有限公司 |
| 申请人地址 | 福建省厦门市火炬高新区创业园伟业楼S603、604室 |
专利法律状态
2023-03-24
授权
状态信息
授权
2017-11-03
公布
状态信息
公布
摘要
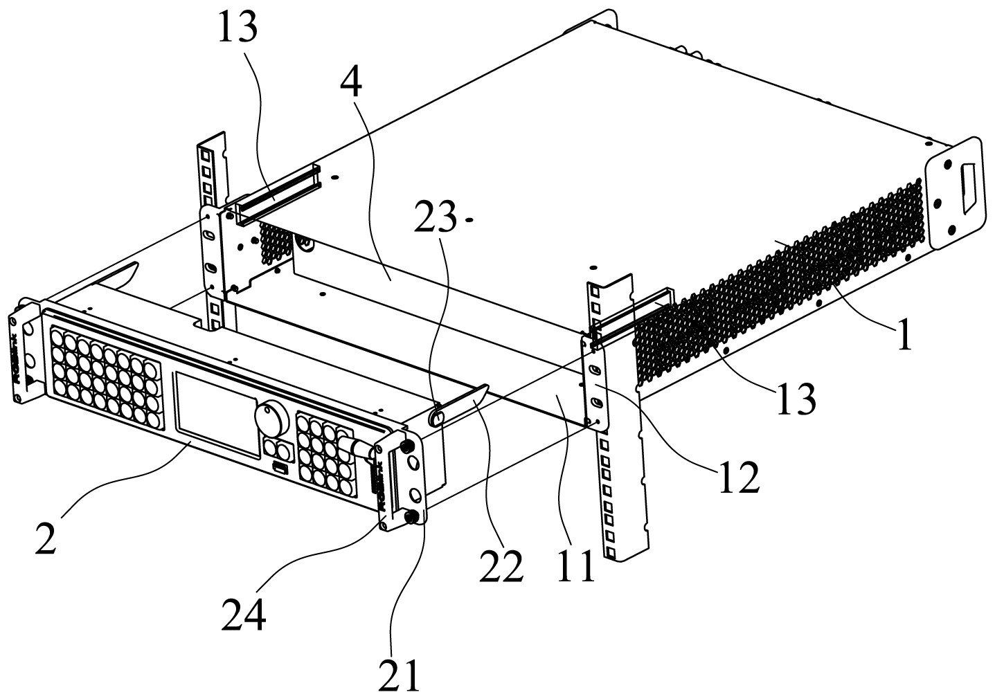
本发明公开一种方便拆卸面板的视频处理器及其安装方法,视频处理器包括主机箱和前面板,主机箱前侧开设安装口,前面板左右两端均形成第一对接板,对应地主机箱安装口的左右两侧也形成第二对接板,各对接板上均开设至少一个对接孔,前面板后侧通过第一对接板与第二对接板上各对接孔的配合并借助可插入对接孔的连接件实现可拆卸地安装于主机箱上,前面板与主机箱内的主板通过网线连接;前面板的左右两端分别枢设一支脚,在前面板从主机箱分离时可转动该支脚以为前面板提供支撑,主机箱左右两侧对应于前面板两端的支脚分别形成一导槽。本发明实现前面板快速地拆卸和安装,使前面板可与主机箱组合使用或单独使用,扩大其使用范围。


