授权公布号:CN220627322U
一种新型一体黑双联屏
有效
申请
2023-08-22
申请公布
1970-01-01
授权
2024-03-19
预估到期
2033-08-22
| 申请号 | CN202322271004.0 |
| 申请日 | 2023-08-22 |
| 授权公布号 | CN220627322U |
| 授权公告日 | 2024-03-19 |
| 分类号 | G09F9/00;G02B1/10;G02B1/14;G02B1/11;G02B1/18 |
| 分类 | 教育;密码术;显示;广告;印鉴; |
| 申请人名称 | 信利光电股份有限公司 |
| 申请人地址 | 广东省汕尾市市辖区汕尾市区工业大道信利工业城一区第15栋 |
专利法律状态
2024-03-19
授权
状态信息
授权
摘要
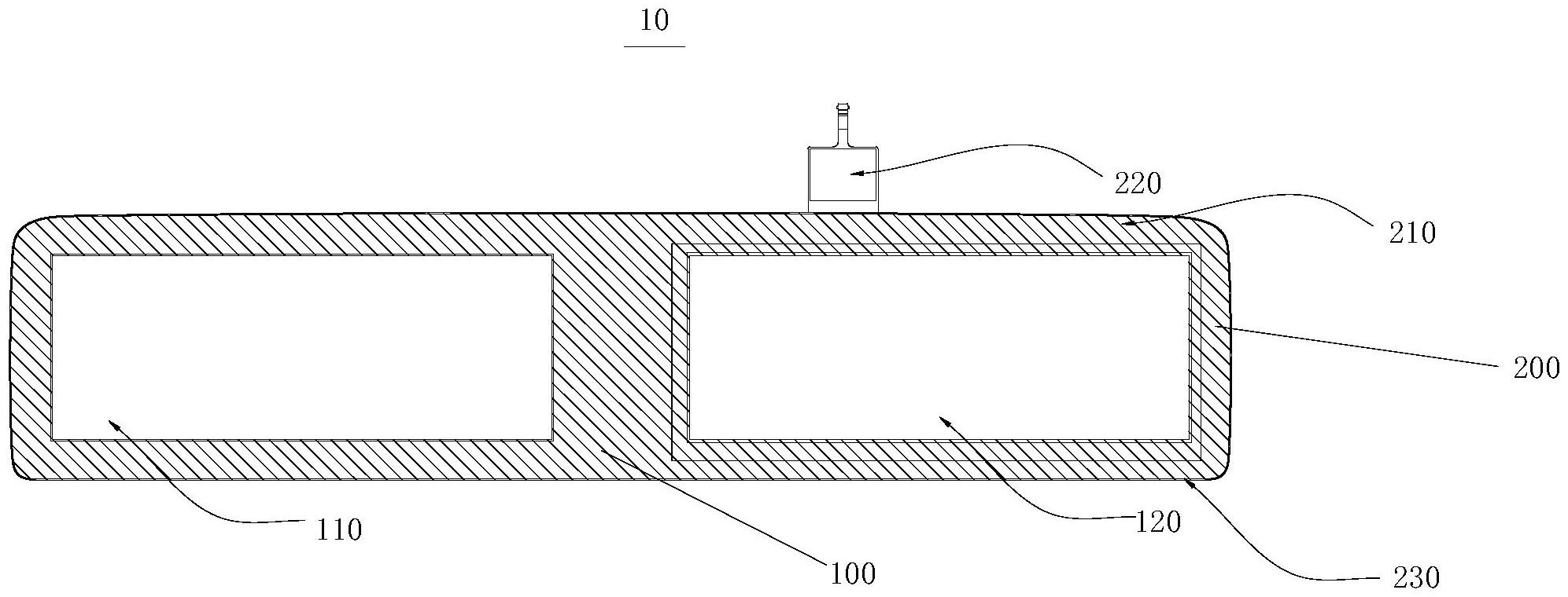
本实用新型公开一种新型一体黑双联屏,包括:显示屏及框体,显示屏包括第一显示屏及第二显示屏,第一显示屏及第二显示屏为高度相同的并列设置,第一显示屏及第二显示屏上均设置有OCA层,框体包括盖板及保护壳,第一显示屏及第二显示屏设置于保护壳内,盖板设置于第一显示屏及第二显示屏的表面,盖板远离第一显示屏及第二显示屏的一端面还设置有镀膜层,镀膜层远离盖板的一端面还设置有保护层。本实用新型通过设置烟熏OCA层,使得显示设备通过外界光源的照射下,从而保证显示设备的双联屏呈现一体黑的颜色,保证美观性,同时,在盖板的表面还设置有AF、AR及AG镀膜层,避免观看显示设备造成眩光以及防止触摸显示屏的盖板上沾染指纹。


