授权公布号:CN106502439B
触控显示设备
有效
申请
2015-09-08
申请公布
2017-03-15
授权
2023-09-05
预估到期
2035-09-08
| 申请号 | CN201510563398.4 |
| 申请日 | 2015-09-08 |
| 申请公布号 | CN106502439A |
| 申请公布日 | 2017-03-15 |
| 授权公布号 | CN106502439B |
| 授权公告日 | 2023-09-05 |
| 分类号 | G06F3/041 |
| 分类 | 计算;推算;计数; |
| 申请人名称 | 宸鸿科技(厦门)有限公司 |
| 申请人地址 | 福建省厦门市厦门火炬高新区信息光电园坂尚路199号 |
专利法律状态
2023-09-05
授权
状态信息
授权
2017-04-12
实质审查的生效
状态信息
实质审查的生效;IPC(主分类):G06F3/041;申请日:20150908
2017-03-15
公布
状态信息
公布
摘要
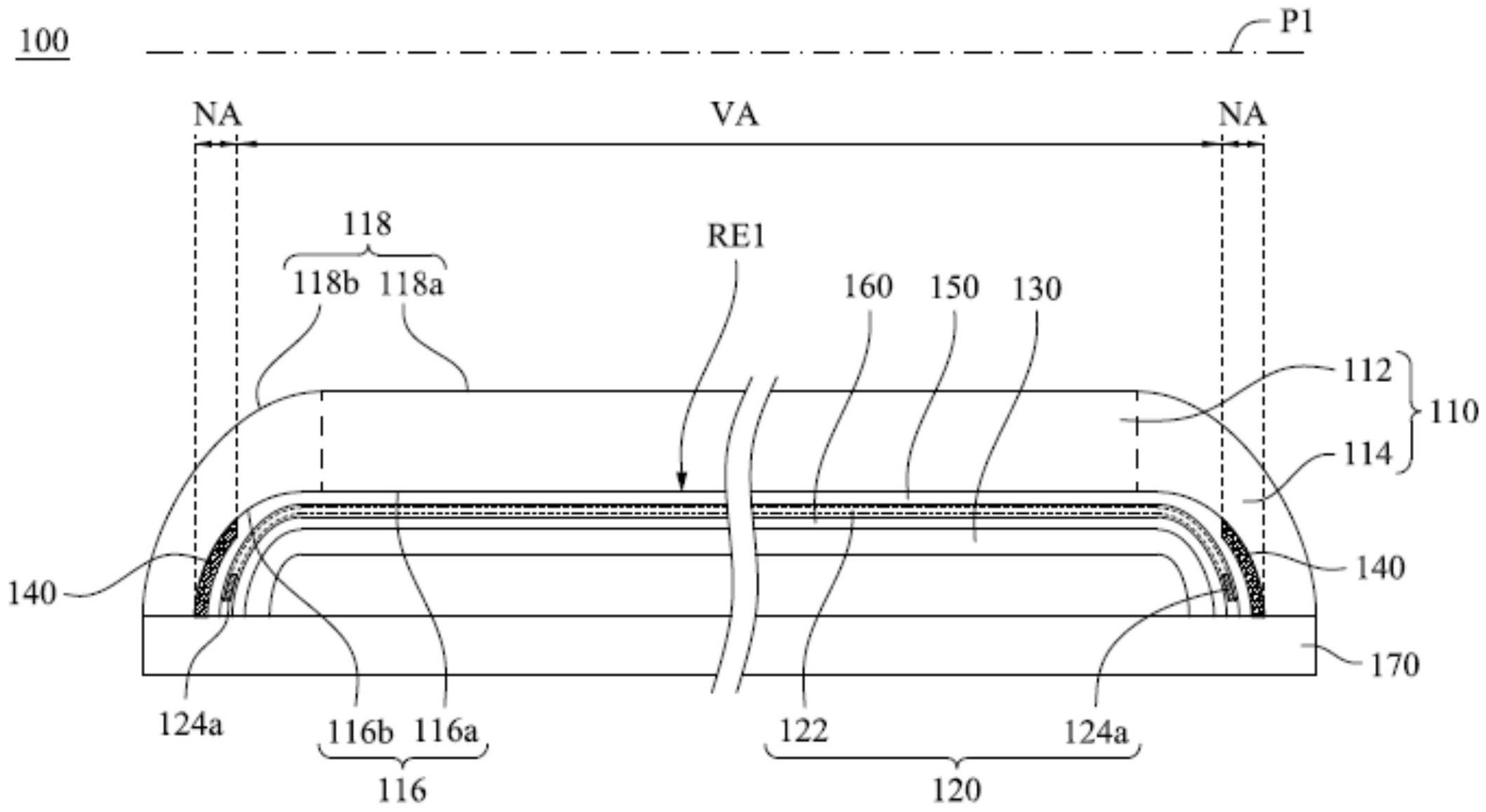
本发明提供一种触控显示设备包含透明盖板、触控感测薄膜以及可挠性显示面板。透明盖板具有第一平坦部分与设置于第一平坦部分的至少一侧的侧边部分。触控感测薄膜设置于透明盖板的内表面上。触控感测薄膜包含触控感测数组以及与触控感测数组电性连接的至少一周边引线,周边引线与部分触控感测数组于投影平面上的投影位于侧边部分于投影平面上的投影之内。投影平面平行于第一平坦部分。可挠性显示面板设置于触控感测薄膜上。使触控显示设备不但可窄化或免除边框的设计,还可以实现侧边显示与触控的作用。


