授权公布号:CN114900179B
一种灵活适配传感器的接口电路及其应用
有效
申请
2022-07-12
申请公布
2022-08-12
授权
2022-10-04
预估到期
2042-07-12
| 申请号 | CN202210814843.X |
| 申请日 | 2022-07-12 |
| 申请公布号 | CN114900179A |
| 申请公布日 | 2022-08-12 |
| 授权公布号 | CN114900179B |
| 授权公告日 | 2022-10-04 |
| 分类号 | H03K19/0175 |
| 分类 | 基本电子电路; |
| 申请人名称 | 天津光电集团有限公司 |
| 申请人地址 | 天津市河西区泰山路6号 |
专利法律状态
2022-10-04
授权
状态信息
授权
2022-08-12
公布
状态信息
公布
摘要
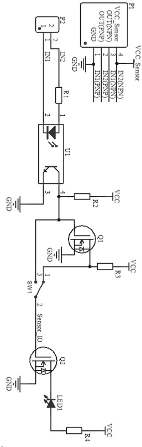
本发明公开了一种灵活适配传感器的接口电路及其应用,外部传感器依次与上板连接器、底板连接器、信号检测电路、开关选择和指示灯指示连接,外部传感器为NPN型常开/常闭传感器或PNP型常开/常闭传感器,上板连接器用于选择传感器的种类是NPN传感器还是PNP传感器,信号检测电路由电阻、光耦元件构成,用于检测传感器信号,开关选择为单刀双掷开关,用于选择传感器类型为常开或常闭,指示灯指示由MOS管、电阻和LED灯构成,用于显示传感器的工作状态,本发明结构简单,设计巧妙,节省了处理器I/O端口,减少了软件程序设计,降低了电路成本,抗干扰能力强,检测效果直观显示,调试方便,工作效率高,电路功能性强,操作灵活便捷,适用范围广。


