授权公布号:CN216414371U
具有崖式薄片导引结构的扫描装置
有效
申请
2021-11-11
申请公布
1970-01-01
授权
2022-04-29
预估到期
2031-11-11
| 申请号 | CN202122758597.4 |
| 申请日 | 2021-11-11 |
| 授权公布号 | CN216414371U |
| 授权公告日 | 2022-04-29 |
| 分类号 | H04N1/00;H04N1/04 |
| 分类 | 电通信技术; |
| 申请人名称 | 虹光精密工业(苏州)有限公司 |
| 申请人地址 | 江苏省苏州市工业园区扬泰路9号 |
专利法律状态
2022-04-29
授权
状态信息
授权
摘要
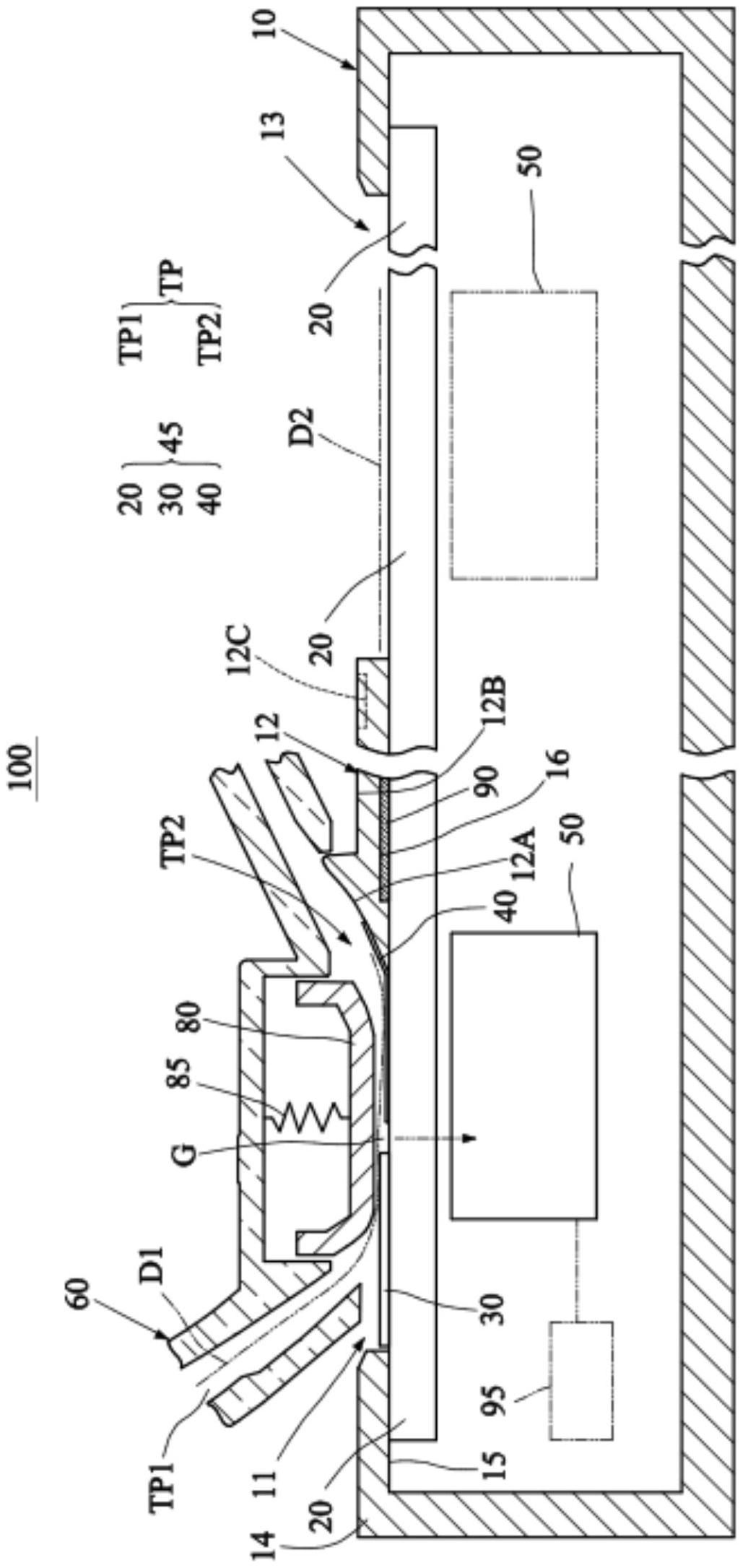
本实用新型涉及一种扫描装置包含:第一本体,具有窗口及导引结构;透光平台,连接至第一本体而覆盖窗口;第一薄片,设置于透光平台上以及窗口中;第二薄片,固定设置于透光平台上、窗口中、以及导引结构上,其中第一薄片比第二薄片厚,以形成崖式薄片导引结构来当作馈送通道的第一部分;扫描模块,设置于第一本体中;第二本体,具有馈送通道的第二部分;以及馈送机构,设置于第二本体中,用于将文件通过馈送通道馈送,以使扫描模块通过窗口来扫描文件的影像。


