授权公布号:CN2575718
可提高打印质量的打印设备
失效
申请
2002-10-30
申请公布
1970-01-01
授权
2003-09-24
预估到期
2012-10-30
| 申请号 | CN02261112.6 |
| 申请日 | 2002-10-30 |
| 授权公布号 | CN2575718 |
| 授权公告日 | 2003-09-24 |
| 分类号 | G03G15/00 |
| 分类 | 摄影术;电影术;利用了光波以外其他波的类似技术;电记录术;全息摄影术〔4〕; |
| 申请人名称 | 虹光精密工业(苏州)有限公司 |
| 申请人地址 | 江苏省苏州工业园区苏虹西路1号 |
专利法律状态
2021-09-17
授权
状态信息
授权
2012-12-26
专利权的终止
状态信息
专利权有效期届满;IPC(主分类):G03G 15/00;申请日:20021030;授权公告日:20030924期满;终止日期:20121030
2003-09-24
实用新型专利权授予
状态信息
授权
摘要
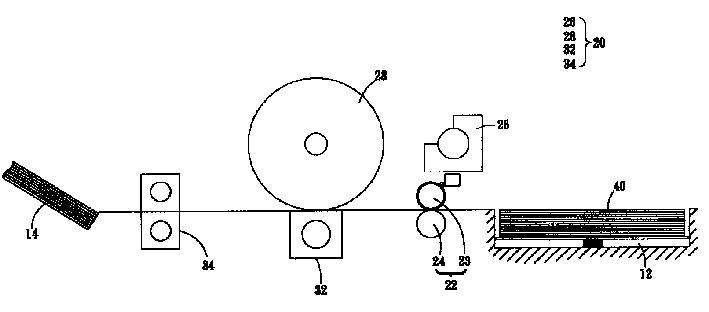
一种可提高打印质量的打印设备,该打印设备中,一进纸轮组中的一滚轮外表面设有涂料吸附层,且对应该涂料吸附层设有涂料供应器,用以提供涂料给涂料吸附层,如果纸张移动于打印设备中,该纸张的打印面会与涂料吸附层接触并被涂料附着,使得普通纸可以产生相片品质的打印效果,而且分布在纸张上的碳粉能有牢固的附着效果,此外由于涂料的黏滞特性,所以可提高纸张与滚轮间的摩擦力,使纸张的移动更准确。


