授权公布号:CN206050225U
一次封装快捷环保快递箱
有效
申请
2016-09-23
申请公布
1970-01-01
授权
2017-03-29
预估到期
2026-09-23
| 申请号 | CN201621079393.0 |
| 申请日 | 2016-09-23 |
| 授权公布号 | CN206050225U |
| 授权公告日 | 2017-03-29 |
| 分类号 | B65B43/10 |
| 分类 | 输送;包装;贮存;搬运薄的或细丝状材料; |
| 申请人名称 | 北京扬帆耐力贸易有限公司 |
| 申请人地址 | 北京市海淀区上地创业中路36号2层208室 |
专利法律状态
2017-03-29
授权
状态信息
授权
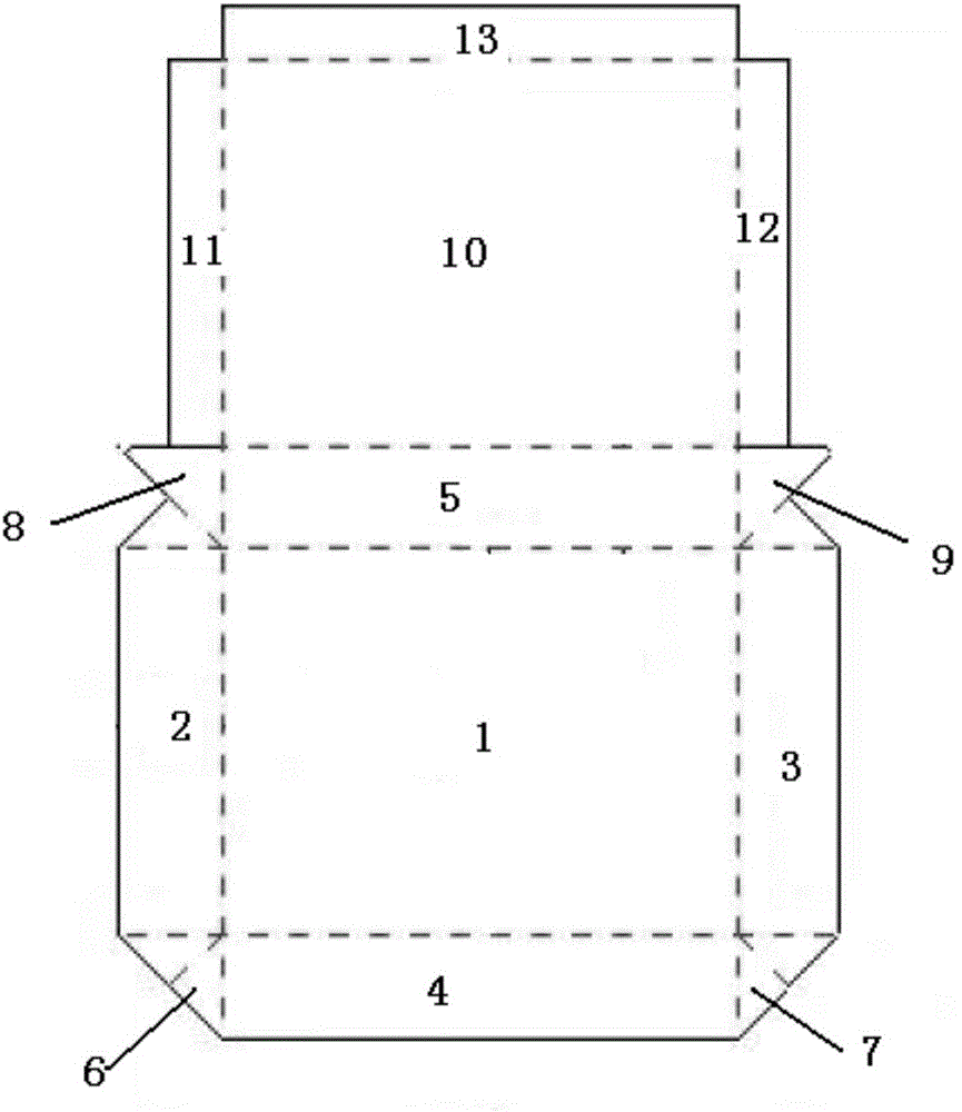
摘要
本实用新型公开了一种一次封装快捷环保快递箱,涉及包装设备技术领域。该快递箱,能够在一秒左右的时间将一个平面的纸板折叠成一个能够正常使用的纸盒,大大提高快递包装的速度,只需要一次封口就能稳固,达到原来需要正反封口才有的效果,有效的提高了包装效率,降低了劳动强度;同时,相较于同规格、容积的传统纸箱,不存在浪费的材料,减少了制造纸箱所需的用料,更为环保。


