授权公布号:CN219133605U
转印装置及具有其的卡片打印机
有效
申请
2022-12-07
申请公布
1970-01-01
授权
2023-06-06
预估到期
2032-12-07
| 申请号 | CN202223297846.5 |
| 申请日 | 2022-12-07 |
| 授权公布号 | CN219133605U |
| 授权公告日 | 2023-06-06 |
| 分类号 | B41J2/315;B41J3/407 |
| 分类 | 印刷;排版机;打字机;模印机〔4〕; |
| 申请人名称 | 江门市得实计算机外部设备有限公司 |
| 申请人地址 | 广东省江门市江海区金星路399号 |
专利法律状态
2023-06-06
授权
状态信息
授权
摘要
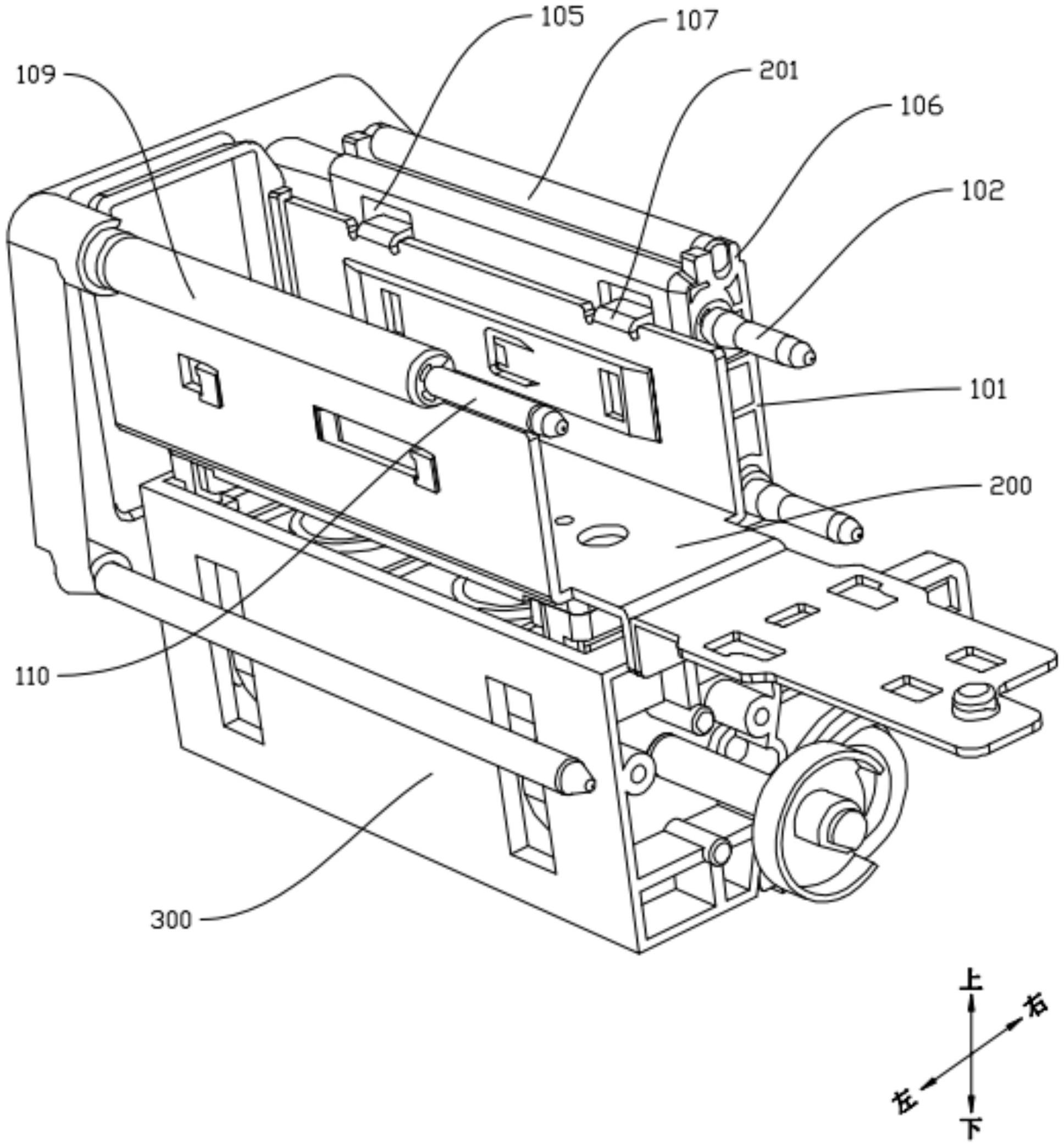
本实用新型公开了一种转印装置及具有其的卡片打印机,转印装置包括第一固定杆,膜带架组件,包括剥离架,剥离架设有通孔,第一固定杆插入通孔内,第一固定杆与剥离架通过拉簧连接,剥离架上有沿水平方向设置的导轨,导轨前端为斜面;安装槽,以导轨前端为前向,安装槽上设置有限位块,限位块通过导轨的斜面沿水平方向滑过导轨,使剥离架向下位移;控制机构,安装槽设置在控制机构上,控制机构控制安装槽进行位移;安装槽在限位块的作用下限制剥离架在拉簧收缩方向上的位移,当安装槽抬升时,限位块解除对剥离架的限制,剥离架在拉簧的作用下抬升。根据本实用新型的转印装置,剥离架与安装槽抬升,在杜绝膜带扯断的前提下,实现膜带与卡片的剥离。


