授权公布号:CN211769241U
直接驱动式打印走纸传动机构
有效
申请
2020-02-14
申请公布
1970-01-01
授权
2020-10-27
预估到期
2030-02-14
| 申请号 | CN202020169913.7 |
| 申请日 | 2020-02-14 |
| 授权公布号 | CN211769241U |
| 授权公告日 | 2020-10-27 |
| 分类号 | B65H20/02 |
| 分类 | 输送;包装;贮存;搬运薄的或细丝状材料; |
| 申请人名称 | 上海芝柯智能科技有限公司 |
| 申请人地址 | 上海市浦东新区秀浦路3999弄6号101室 |
专利法律状态
2020-10-27
授权
状态信息
授权
摘要
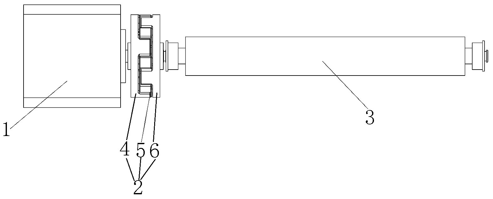
本实用新型提供了直接驱动式打印走纸传动机构,包括电机、轴直连机构和走纸传动轴,轴直连机构包括第一定位件、连接件和第二定位件,第一定位件包括第一定位主体、第一D形孔、第一环形凸台和第一定位块,第二定位件和第一定位件两侧对称设置,连接件呈齿轮状,连接件的外侧设有齿,第一定位块和第二定位块交错填充在相邻两齿的间隙中;本实用新型的优点在于:采用电机直接驱动式打印走纸传动机构,能更高效的利用电机,减少齿轮箱传动的摩擦损耗及传动精度;轴直连机构采用两个卡盘卡住一个齿盘,两个卡盘的定位块交错填充在齿轮间隙中,结构稳定,传动精准可靠。


