授权公布号:CN216195062U
一种可降尘型液压破碎锤
有效
申请
2021-11-08
申请公布
1970-01-01
授权
2022-04-05
预估到期
2031-11-08
| 申请号 | CN202122712653.0 |
| 申请日 | 2021-11-08 |
| 授权公布号 | CN216195062U |
| 授权公告日 | 2022-04-05 |
| 分类号 | E02F5/30;B01D47/06 |
| 分类 | 水利工程;基础;疏浚; |
| 申请人名称 | 安徽安通智能装备制造股份有限公司 |
| 申请人地址 | 安徽省马鞍山市博望区新市工业材料园 |
专利法律状态
2022-04-05
授权
状态信息
授权
摘要
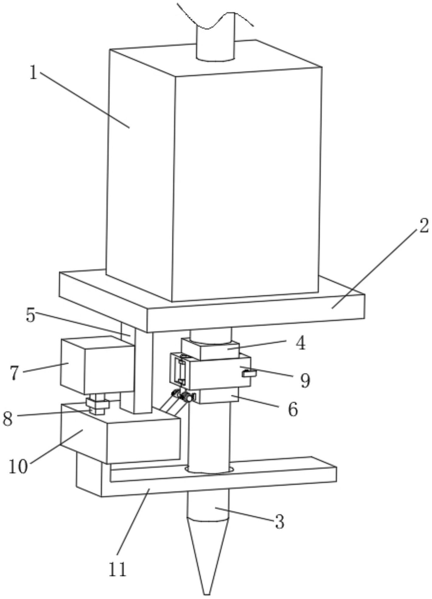
本实用新型公开了一种可降尘型液压破碎锤,包括外机壳,所述外机壳的下表面固定连接有安装板,所述外机壳的内壁滑动连接有破碎头,所述破碎头的底端贯穿安装板的下表面,所述破碎头的表面分别固定连接上定位板、下定位板,所述安装板的下表面固定连接有连接杆,所述连接杆的底端固定连接有压力箱,所述压力箱的上表面固定连接有入水钢管,所述入水钢管的表面固定连接有单向阀。本实用新型通过设置上定位板、下定位板,实现对固定降尘机构的固定稳定,通过设置入水钢管,实现对水箱的固定支撑,通过设置水箱,储存水源,通过设置固定降尘机构,使得破碎头运动通过固定降尘机构将压力箱内的水源通过喷雾板喷出,实现降尘的效果。


