授权公布号:CN216343368U
一种滑动转盘的紧固装置
有效
申请
2021-12-01
申请公布
1970-01-01
授权
2022-04-19
预估到期
2031-12-01
| 申请号 | CN202122984916.3 |
| 申请日 | 2021-12-01 |
| 授权公布号 | CN216343368U |
| 授权公告日 | 2022-04-19 |
| 分类号 | F16C13/00;B23P19/06 |
| 分类 | 工程元件或部件;为产生和保持机器或设备的有效运行的一般措施;一般绝热; |
| 申请人名称 | 深圳惠格浩电子有限公司 |
| 申请人地址 | 广东省清远市佛冈县石角镇三八莲塘二七村金鱼山工业区自编3区 |
专利法律状态
2023-12-19
专利申请权、专利权的转移
状态信息
专利权的转移;IPC(主分类):F16C 13/00;专利号:ZL2021229849163;登记生效日:20231204;变更事项:专利权人;变更前权利人:深圳惠格浩电子有限公司;变更后权利人:清远惠豪科技有限公司;变更事项:地址;变更前权利人:518000 广东省深圳市宝安区燕罗街道罗田社区龙山八路2号H栋厂房101、K栋、L栋、M栋厂房一楼;变更后权利人:511500 广东省清远市佛冈县石角镇三八莲塘二七村金鱼山工业区自编3区
2022-04-19
授权
状态信息
授权
摘要
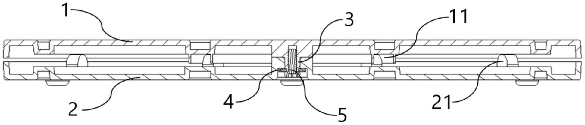
本实用新型涉及一种滑动转盘的紧固装置,包括转盘上部及转盘下部,所述转盘上部设有滑动槽及螺丝孔柱,且所述滑动槽及螺丝孔柱与转盘上部一体式结构,所述转盘下部设有滑动件、扁孔垫片及转轴螺丝,所述滑动件与转盘下部一体式结构,所述转轴螺丝与转盘下部活动连接,所述转盘上部与转盘下部相配合,且所述转盘上部设置于转盘下部上方,所述滑动件卡合在滑动槽内相对滑动,所述转轴螺丝穿过垫片与螺丝孔柱锁紧固定连接,且所述螺丝孔柱的顶部卡合在扁孔垫片的孔内。本实用新型公布了一种滑动转盘的紧固装置,通过采用这种结构,不仅节约了装配成本,减少了转盘工作时产生的噪音,而且大大提高了转盘的可靠性。


