授权公布号:CN101792957B
缝纫机
有效
申请
2010-01-08
申请公布
2010-08-04
授权
2012-12-12
预估到期
2030-01-08
| 申请号 | CN201010001453.8 |
| 申请日 | 2010-01-08 |
| 申请公布号 | CN101792957A |
| 申请公布日 | 2010-08-04 |
| 授权公布号 | CN101792957B |
| 授权公告日 | 2012-12-12 |
| 分类号 | D05B55/14 |
| 分类 | 缝纫;绣花;簇绒; |
| 申请人名称 | 上工申贝(集团)股份有限公司 |
| 申请人地址 | 上海市浦东新区世纪大道1500号东方大厦12楼 |
专利法律状态
2020-09-01
专利申请权、专利权的转移
状态信息
专利权的转移;IPC(主分类):D05B 55/14;专利号:ZL2010100014538;登记生效日:20200812;变更事项:专利权人;变更前权利人:杜尔克普-阿德勒股份公司;变更后权利人:上工申贝(集团)股份有限公司;变更事项:地址;变更前权利人:德国比勒弗尔德;变更后权利人:上海市浦东新区世纪大道1500号东方大厦12楼
2012-12-12
发明专利权授予
状态信息
授权
2012-02-01
实质审查的生效
状态信息
实质审查的生效;IPC(主分类):D05B 55/14;申请日:20100108
2010-08-04
发明专利申请公布
状态信息
公布
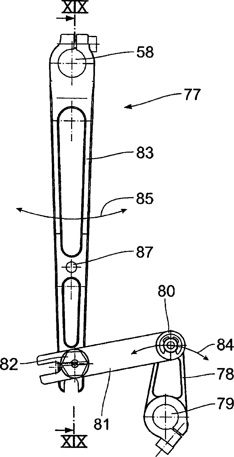
摘要
本发明涉及一种缝纫机,所述缝纫机具有:至少一个针杆;与所述针杆作用连接的传送装置,所述传送装置(55)用于所述针杆(9、10)的缝料传送驱动。所述传送装置具有驱动杆(78),所述驱动杆与传送驱动机构刚性连接。拉杆(81)与所述驱动杆(78)铰接。所述传送装置的被驱动的送针杆(83)与所述针杆连接。所述拉杆(81)能够在传送位置和非工作位置之间转换,在传送位置中拉杆(81)铰接地与所述送针杆(83)形成传送驱动连接,在非工作位置中拉杆(81)不对所述送针杆(83)施加驱动作用。本发明提出了一种应用灵活的缝纫机。


