授权公布号:CN205022043U
气泡机的料轴阻尼结构
有效
申请
2015-08-14
申请公布
1970-01-01
授权
2016-02-10
预估到期
2025-08-14
| 申请号 | CN201520614966.4 |
| 申请日 | 2015-08-14 |
| 授权公布号 | CN205022043U |
| 授权公告日 | 2016-02-10 |
| 分类号 | B31B1/10 |
| 分类 | 纸品制作;纸的加工; |
| 申请人名称 | 上海名优办公设备有限公司 |
| 申请人地址 | 上海市杨浦区双阳路411号1103室 |
专利法律状态
2016-02-10
授权
状态信息
授权
摘要
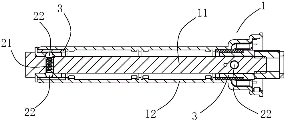
本实用新型提供一种气泡机的料轴阻尼结构,包括安装在气泡机主机架上的料轴,所述料轴用于安装带有塑料膜片的卷筒,所述料轴包括固定轴和套在固定轴上的外套管,所述外套管可相对于固定轴转动,所述阻尼结构包括沿径向穿设在固定轴上的压簧和压簧两端的顶珠,所述顶珠顶压在外套管的内壁上;所述顶珠可相对于压簧转动。本实用新型通过阻尼装置能够有限地限制释放塑料膜片的速度,避免因为料轴送料过多引起的设备故障和产品质量缺陷。


