授权公布号:CN204823361U
气泡机的料卷装置
有效
申请
2015-07-22
申请公布
1970-01-01
授权
2015-12-02
预估到期
2025-07-22
| 申请号 | CN201520536933.2 |
| 申请日 | 2015-07-22 |
| 授权公布号 | CN204823361U |
| 授权公告日 | 2015-12-02 |
| 分类号 | B65H16/00 |
| 分类 | 输送;包装;贮存;搬运薄的或细丝状材料; |
| 申请人名称 | 上海名优办公设备有限公司 |
| 申请人地址 | 上海市杨浦区双阳路411号1103室 |
专利法律状态
2015-12-02
授权
状态信息
授权
摘要
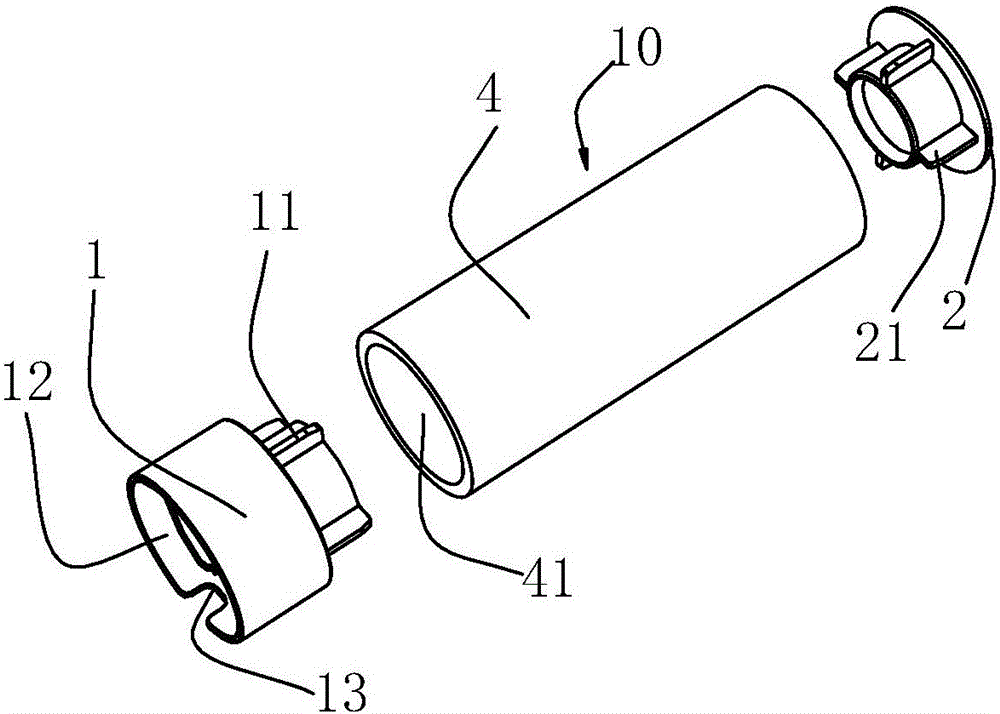
本实用新型公开了一种气泡机的料卷装置,包括芯筒和缠绕在芯筒上的塑料薄膜,所述芯筒的一端由第一模制件构成,第一模制件的中心设有通孔,所述第一模制件对应于所述通孔的内壁上设有至少一个凹槽。本实用新型在模制件的内壁上设有凹槽,可以与气泡机料轴上的定位凸台配合,便于料卷装置在料轴上快速定位,并能避免料卷在料轴上打滑,提高供料的稳定性。


