授权公布号:CN113107277B
一种把手及应用有该把手的锁具结构
有效
申请
2021-05-19
申请公布
2021-07-13
授权
2022-07-05
预估到期
2041-05-19
| 申请号 | CN202110546806.0 |
| 申请日 | 2021-05-19 |
| 申请公布号 | CN113107277A |
| 申请公布日 | 2021-07-13 |
| 授权公布号 | CN113107277B |
| 授权公告日 | 2022-07-05 |
| 分类号 | E05B1/00 |
| 分类 | 锁;钥匙;门窗零件;保险箱; |
| 申请人名称 | 上海安威士科技股份有限公司 |
| 申请人地址 | 上海市闵行区金都路4289号6201室 |
专利法律状态
2022-07-05
授权
状态信息
授权
2021-07-13
公布
状态信息
公布
摘要
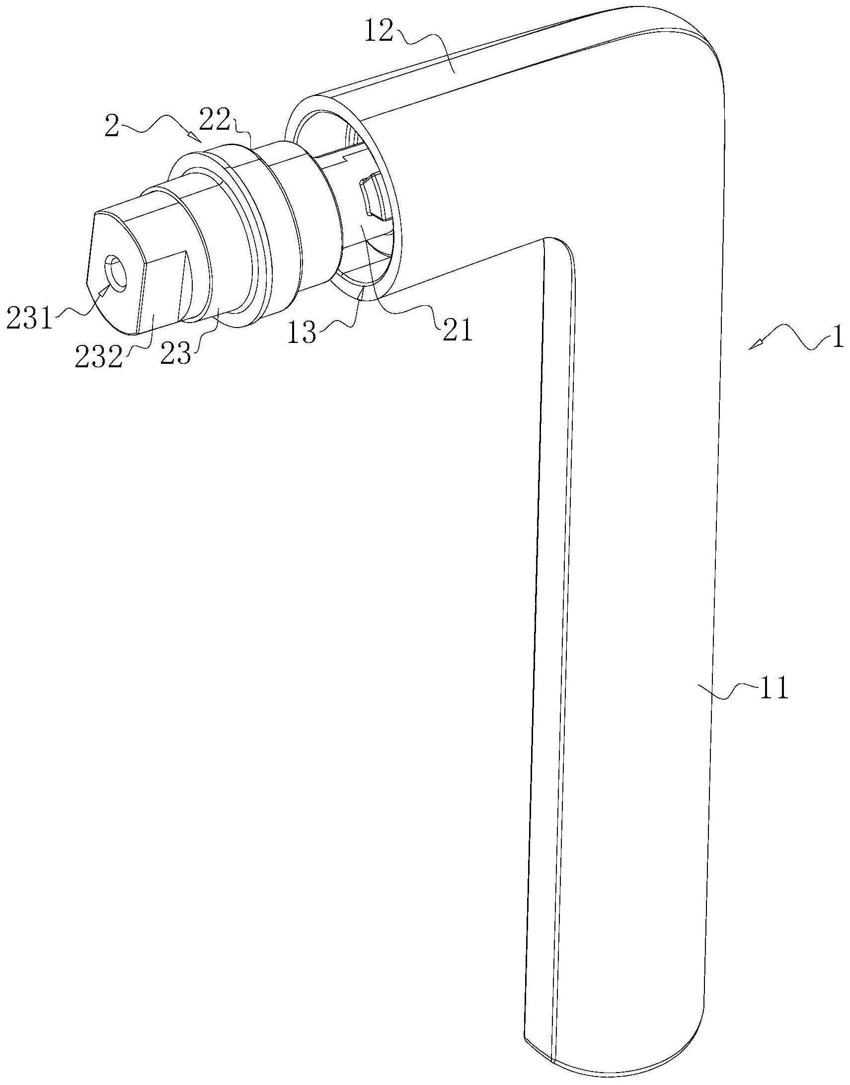
本申请公开了一种把手及应用该把手的锁具结构,其包括有执手部和转轴部,执手部与转轴部构成滑移转动配合并配合形成有卡接安装结构,且执手部设置有用于锁定构成卡接配合后的转轴部的顶压件;卡接安装结构包括有第一卡接部和第二卡接部,第一卡接部上形成有至少两个卡接位,卡接安装结构的不同卡接位选取决定执手部与转轴部的配合使用状态。转动转轴部,以使得第二卡接部与第一卡接部上相对应的卡接位构成卡接配合,从而满足把手的换向调整需求,并利用第一卡接部与第二卡接部构成的结构卡接以及顶压锁定相配合的方式,实现稳定锁定转轴部和执手部的目的,进而达到提高把手使用稳定性,解决传统把手容易出现的松动或者脱落的问题。


