授权公布号:CN212423613U
胶辊悬停高度精确定位系统
有效
申请
2020-06-02
申请公布
1970-01-01
授权
2021-01-29
预估到期
2030-06-02
| 申请号 | CN202020979529.3 |
| 申请日 | 2020-06-02 |
| 授权公布号 | CN212423613U |
| 授权公告日 | 2021-01-29 |
| 分类号 | B65B33/02; |
| 分类 | 输送;包装;贮存;搬运薄的或细丝状材料; |
| 申请人名称 | 青岛皇冠电子有限公司 |
| 申请人地址 | 山东省青岛市城阳区夏庄街道刘家小水村 |
专利法律状态
2021-01-29
授权
状态信息
授权
摘要
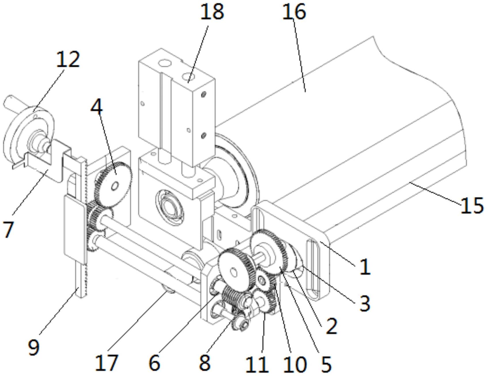
本实用新型公开一种胶辊悬停高度精确定位系统,包括用于定位上下移动胶辊悬停高度的限位块、用于改变限位块高度的凸轮及用于驱动凸轮转动的齿轮驱动系统,限位块上对应凸轮设置有限位孔,凸轮设置在限位孔内,通过凸轮与限位孔相互作用实现上下移动胶辊高度定位,凸轮通过齿轮驱动系统与外部动力源动力连接,外部动力源通过齿轮驱动系统进行动力传递,进而带动凸轮转动。本实用新型的高度精确定位系统,可以保证上下移动胶辊在下落的时候,可以在任意需要的高度悬停,保证密度低的板材不被压变形,还能实现高品质覆膜;在胶辊的两端分别有一套限位块,两套限位块通过长轴连接,从而实现单边驱动联动控制。


