授权公布号:CN208714485U
一种上扬式下外摆料辊结构
有效
申请
2018-07-03
申请公布
1970-01-01
授权
2019-04-09
预估到期
2028-07-03
| 申请号 | CN201821048445.7 |
| 申请日 | 2018-07-03 |
| 授权公布号 | CN208714485U |
| 授权公告日 | 2019-04-09 |
| 分类号 | B29C63/02;B29C31/04 |
| 分类 | 塑料的加工;一般处于塑性状态物质的加工; |
| 申请人名称 | 北京意高科技有限公司 |
| 申请人地址 | 北京市门头沟区石龙工业区美安路3号 |
专利法律状态
2019-04-09
授权
状态信息
授权
摘要
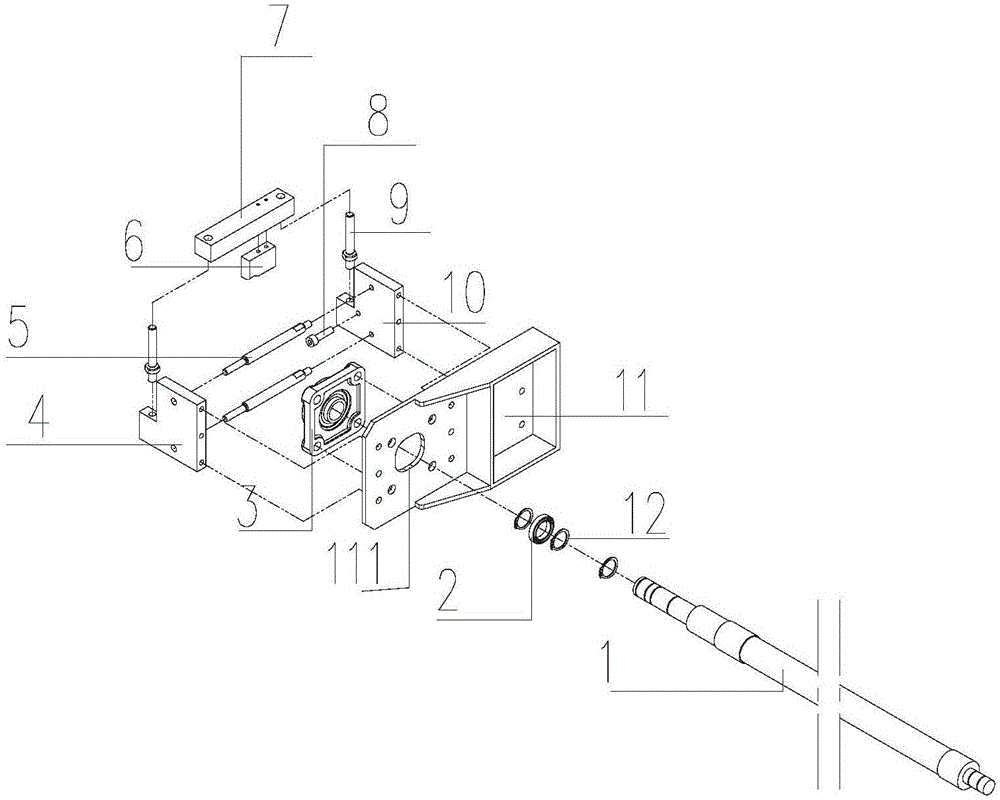
一种上扬式下外摆料辊结构,包括下外摆支板、限位框、下外摆支撑轴;下外摆支板左半部分为安装板,右半部分为固定板,安装板中间设有轴孔,固定板竖直固定在装裱覆膜机架上;安装板后面固定外球面轴承,下外摆支撑轴插入轴孔及外球面轴承内环并与外球面轴承内环紧配合;下外摆支撑轴为阶梯轴,其后端通过轴用弹簧卡圈固定有深沟球轴承;限位框为前端开口的框架,包括两块相互平行竖直设置的下外摆左支撑板、下外摆右支撑板及连接在该二者上部的水平设置的下外摆横梁、固定在下外摆横梁下部的下外摆垫片,及固定在下外摆右支撑板里侧的限位柱;本实用新型不用弯下腰或蹲下再将被覆物穿入料辊,装卸物料方便、减轻了操作者的工作强度。


