授权公布号:CN2656118Y
内热式封塑机
有效
申请
2002-01-11
申请公布
1970-01-01
授权
2004-11-17
预估到期
2012-01-11
| 申请号 | CN02202391.7 |
| 申请日 | 2002-01-11 |
| 授权公布号 | CN2656118Y |
| 授权公告日 | 2004-11-17 |
| 分类号 | B29C65/30 |
| 分类 | 塑料的加工;一般处于塑性状态物质的加工; |
| 申请人名称 | 浙江焕达实业有限公司 |
| 申请人地址 | 浙江省永嘉县瓯北三桥工业区 |
专利法律状态
2021-03-16
授权
状态信息
授权
2007-03-07
专利权的终止未缴年费专利权终止
状态信息
专利权的终止未缴年费专利权终止
2004-11-17
实用新型专利权授予
状态信息
授权
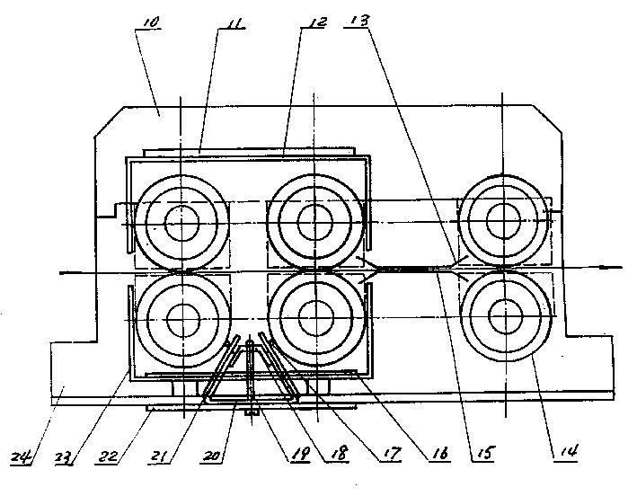
摘要
本实用新型涉及一种封塑机,结构包括电机、传动机构、封塑装置、冷却压平装置、加热装置、温度传感器和安装架,其主要特点是加热装置由每条封塑胶辊内部安装电阻丝构成,具有工作可靠性好、热效率高、温度调节范围大等优点。并能同时适用于低温薄塑膜和高温厚塑膜两种工况的封塑工艺,是摄影等行业对照片、身份证或其它图片封膜的工艺设备。


