授权公布号:CN212023171U
一种封塑机的辅助加热装置
有效
申请
2020-03-30
申请公布
1970-01-01
授权
2020-11-27
预估到期
2030-03-30
| 申请号 | CN202020452498.6 |
| 申请日 | 2020-03-30 |
| 授权公布号 | CN212023171U |
| 授权公告日 | 2020-11-27 |
| 分类号 | B65B51/10 |
| 分类 | 输送;包装;贮存;搬运薄的或细丝状材料; |
| 申请人名称 | 浙江焕达实业有限公司 |
| 申请人地址 | 浙江省温州市永嘉县瓯北镇堡一工业区 |
专利法律状态
2020-11-27
授权
状态信息
授权
摘要
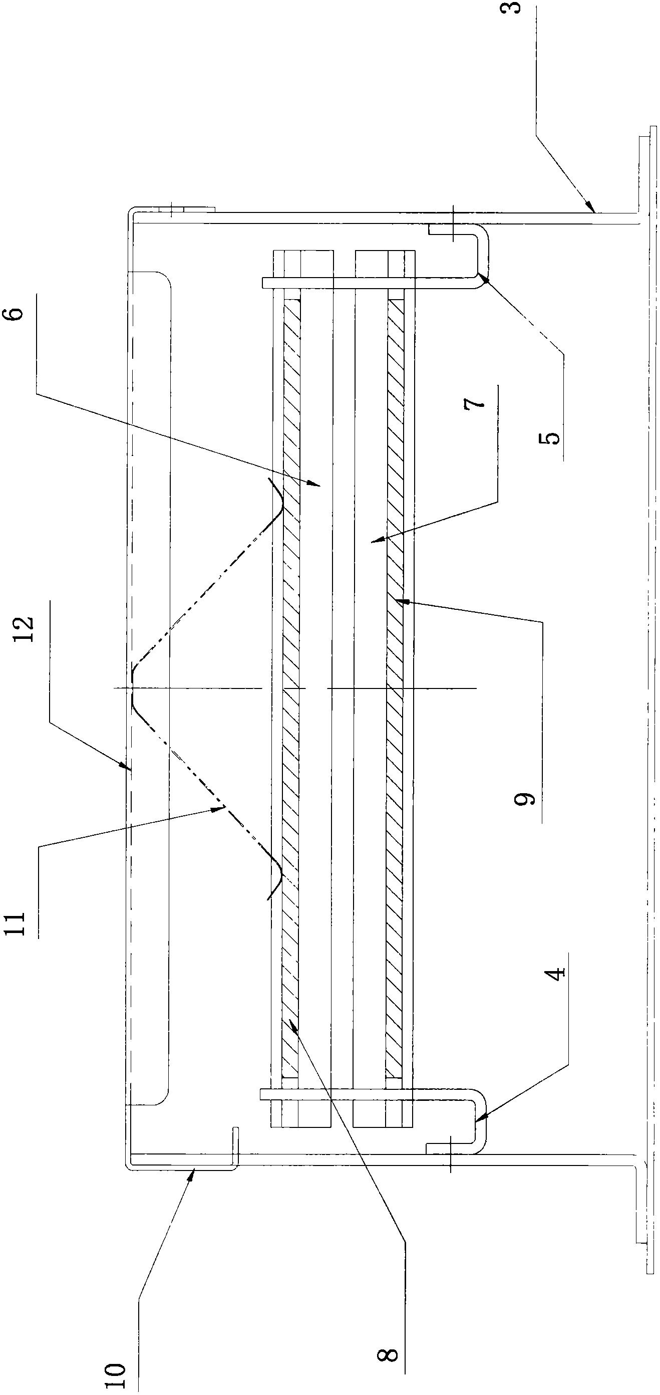
本实用新型涉及一种塑封机辅助加工设备,特别涉及一种封塑机的辅助加热装置。其结构包括位于塑封机进膜胶辊组和出膜胶辊组之间的底座,所述的底座上分别设置有左支架和右支架,左支架和右支架之间分别架设有上铝型材和下铝型材,所述的上铝型材内设置上辅助加热片,所述的下铝型材内设置有下辅助加热片,所述的上铝型材和下铝型材之间设置有容纳塑封膜通过的缝隙。本实用新型的一种封塑机的辅助加热装置,其增加了辅助加热功能,能够对塑封膜二次供温,最后再由输出膜胶辊挤压并送出,从而大幅度提高了过膜质量。


