授权公布号:CN2407925Y
内热式节能封塑机
有效
申请
2000-01-31
申请公布
1970-01-01
授权
2000-11-29
预估到期
2010-01-31
| 申请号 | CN00216406.X |
| 申请日 | 2000-01-31 |
| 授权公布号 | CN2407925Y |
| 授权公告日 | 2000-11-29 |
| 分类号 | B29C65/20 |
| 分类 | 塑料的加工;一般处于塑性状态物质的加工; |
| 申请人名称 | 浙江焕达实业有限公司 |
| 申请人地址 | 浙江省永嘉县瓯北三桥工业区 |
专利法律状态
2003-06-04
专利权的无效、部分无效宣告专利权全部无效
状态信息
<无效宣告决定号>3906无效宣告决定号><无效宣告决定日>2002.08.15无效宣告决定日>
2000-11-29
授权
状态信息
授权
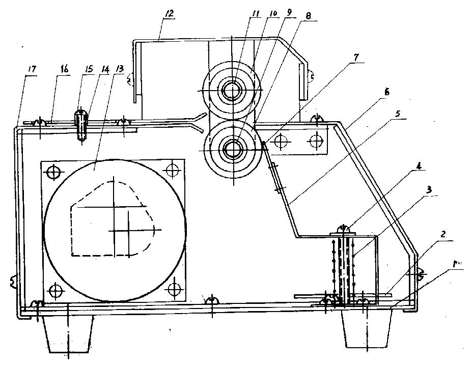
摘要
本实用新型涉及一种包括电机、传动机构、封塑胶辊、冷却压平装置、加热管、温度传感器及安装架组成的封塑机,其主要特点是加热管安装在封塑胶辊内部,具有加热效果好、节约电能等优点,是摄影等行业对照片、身份证或其它图片进行封塑的理想设备。


