授权公布号:CN218565347U
一种可折叠的台灯
有效
申请
2022-10-28
申请公布
1970-01-01
授权
2023-03-03
预估到期
2032-10-28
| 申请号 | CN202222875280.3 |
| 申请日 | 2022-10-28 |
| 授权公布号 | CN218565347U |
| 授权公告日 | 2023-03-03 |
| 分类号 | F21V21/30;F21V21/14;F21V21/10;F21S6/00 |
| 分类 | 照明; |
| 申请人名称 | 东莞快灵通卡西尼电子科技有限公司 |
| 申请人地址 | 广东省东莞市寮步镇向西合和路37号103室 |
专利法律状态
2023-03-03
授权
状态信息
授权
摘要
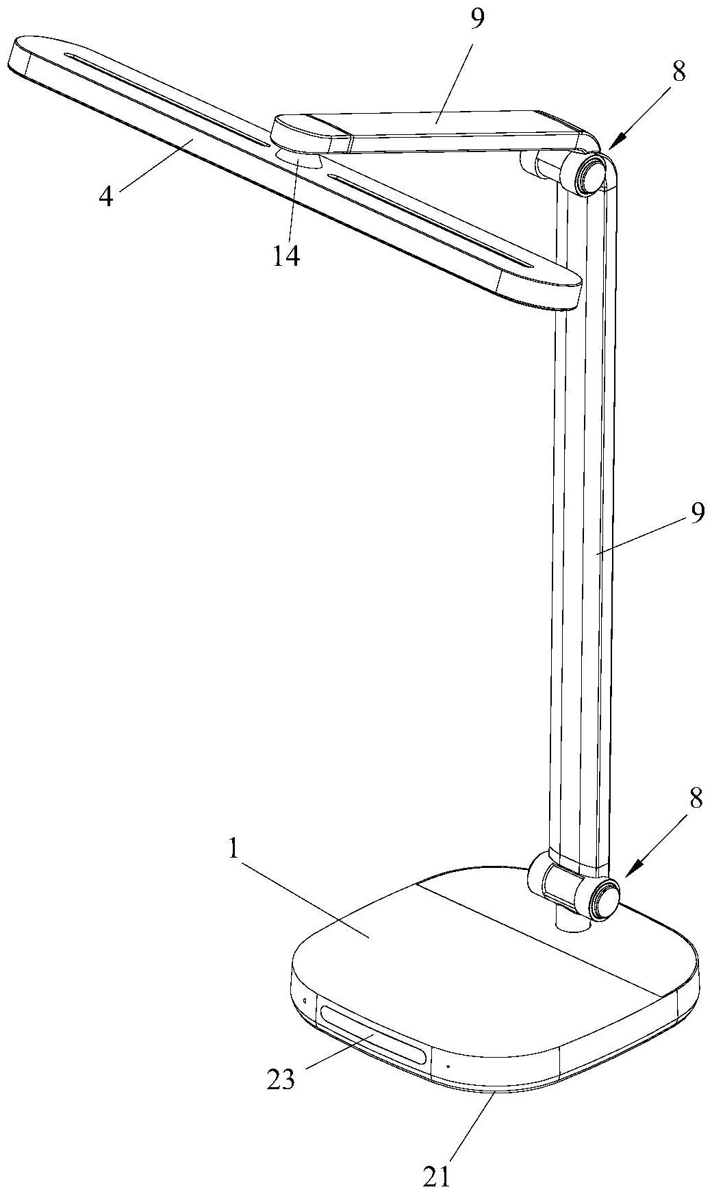
本实用新型涉及台灯技术领域,尤其是指一种可折叠的台灯,包括灯源组件、底座、电源以及设置于底座的控制模块,所述控制模块装设于底座并用于控制灯源组件的发光工作,所述电源用于为灯源组件和控制模块供电,还包括折叠组件和转动组件,所述折叠组件的两端分别与底座和转动组件连接;所述灯源组件包括灯壳以及灯板,所述灯壳设置有灯腔,所述灯板装配于灯腔,所述灯板与所述控制模块信号连接,所述灯板的轴向长度大于灯板的径向长度;所述灯壳转动装设于所述转动组件,所述折叠组件用于调节灯源组件的高度和位置。本实用新型提供的一种可折叠的台灯,因此可通过折叠配合转动灯源组件的方式来增加台灯的光照的调节范围。


