授权公布号:CN115384192B
用于喷印设备的墨盒
有效
申请
2022-09-02
申请公布
2022-11-25
授权
2023-05-30
预估到期
2042-09-02
| 申请号 | CN202211074046.9 |
| 申请日 | 2022-09-02 |
| 申请公布号 | CN115384192A |
| 申请公布日 | 2022-11-25 |
| 授权公布号 | CN115384192B |
| 授权公告日 | 2023-05-30 |
| 分类号 | B41J2/175 |
| 分类 | 印刷;排版机;打字机;模印机〔4〕; |
| 申请人名称 | 杭州宏华数码科技股份有限公司 |
| 申请人地址 | 浙江省杭州市滨江区滨盛路3911号 |
专利法律状态
2023-05-30
授权
状态信息
授权
2022-12-13
实质审查的生效
状态信息
实质审查的生效;IPC(主分类):B41J2/175;专利申请号:2022110740469;申请日:20220902
2022-11-25
公布
状态信息
公布
摘要
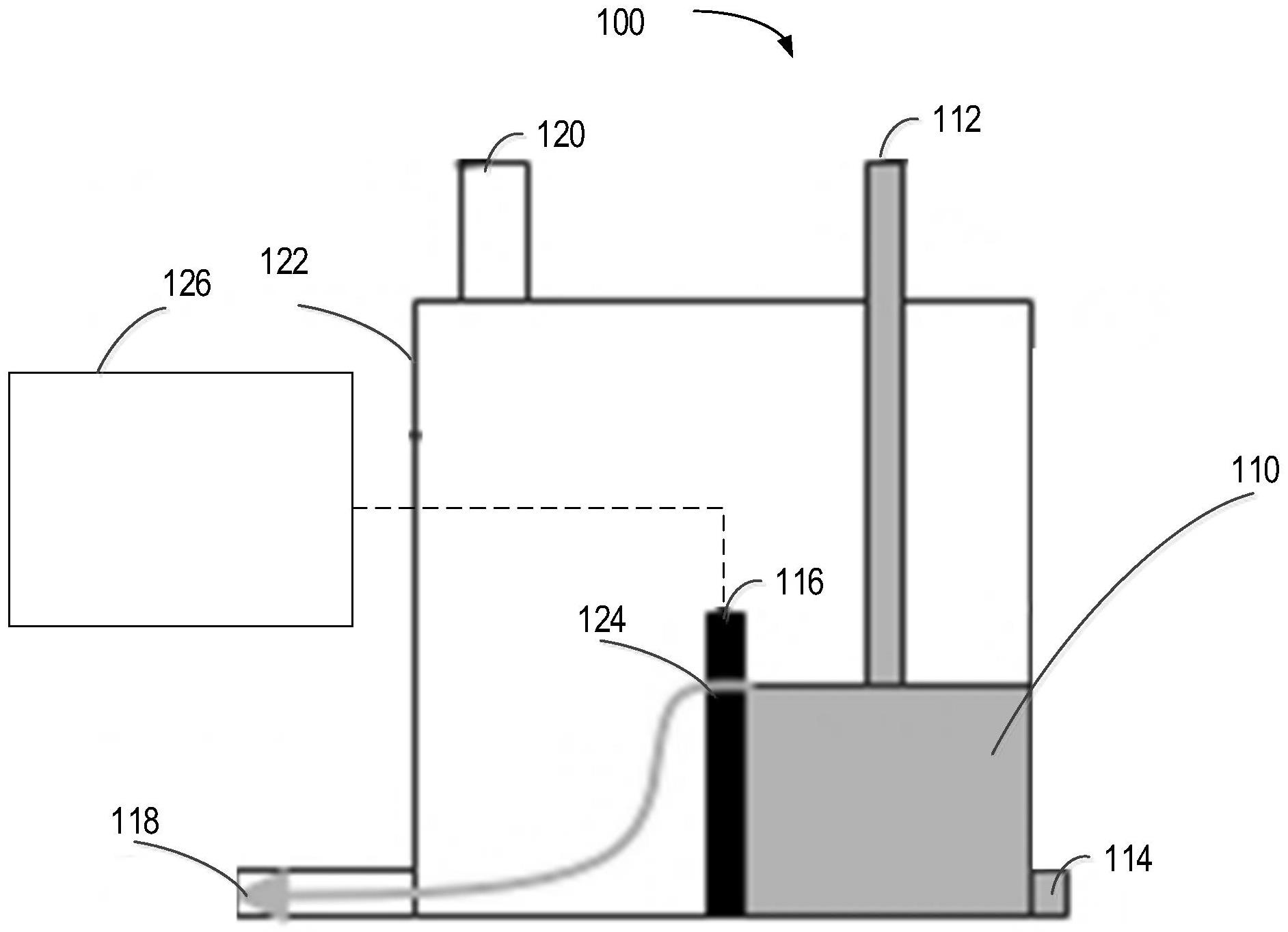
本公开涉及一种用于喷印设备的墨盒。该用于喷印设备的墨盒包括:液体容纳腔,用于容纳待喷印液体;液体输入通道,与液体容纳腔联通,用于将待喷印液体导入液体容纳腔;液体输出端,用于输出待喷印液体至喷头;阻挡单元,配置有多个联通部,联通部分别与液体回收部和液体容纳腔联通,多个联通部的联通部尺寸存在变化;液体回收部,用于回收经由联通部流出的待喷印液体;以及控制单元,用于调整阻挡单元的位置,以便调整液体容纳腔内的待喷印液体的液位。本公开能够实现经由联通部流出的待喷印液体的量连续可调,进而实现液体容纳腔内的液位在很小的范围内波动,从而实现精准的液位控制。


