授权公布号:CN216969097U
打印机防拽纸装置
有效
申请
2022-01-27
申请公布
1970-01-01
授权
2022-07-15
预估到期
2032-01-27
| 申请号 | CN202220231148.6 |
| 申请日 | 2022-01-27 |
| 授权公布号 | CN216969097U |
| 授权公告日 | 2022-07-15 |
| 分类号 | B41J11/00 |
| 分类 | 印刷;排版机;打字机;模印机〔4〕; |
| 申请人名称 | 青岛中科英泰商用系统股份有限公司 |
| 申请人地址 | 山东省青岛市高新区新业路28号英泰产业园 |
专利法律状态
2022-07-15
授权
状态信息
授权
摘要
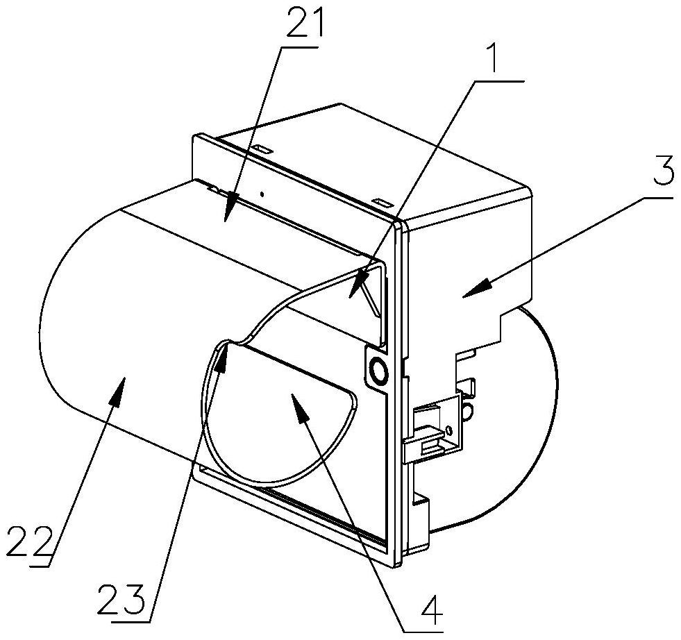
一种打印机防拽纸装置,包括背板和挡板,背板具有一进纸口;挡板装设在背板上,并位于进纸口的外侧,用以遮挡进纸口。本实用新型实施例中通过挡板对打印纸的出纸口进行遮挡,对出纸进行引导,出纸时顾客难以触及到打印纸,也难以对打印纸进行拉扯,从而防止因拉扯打印纸造成的打印机卡纸或者损坏。


