授权公布号:CN216976322U
终端设备支架
有效
申请
2022-02-18
申请公布
1970-01-01
授权
2022-07-15
预估到期
2032-02-18
| 申请号 | CN202220364602.5 |
| 申请日 | 2022-02-18 |
| 授权公布号 | CN216976322U |
| 授权公告日 | 2022-07-15 |
| 分类号 | F16M11/04 |
| 分类 | 工程元件或部件;为产生和保持机器或设备的有效运行的一般措施;一般绝热; |
| 申请人名称 | 青岛中科英泰商用系统股份有限公司 |
| 申请人地址 | 山东省青岛市高新区新业路28号英泰产业园 |
专利法律状态
2022-07-15
授权
状态信息
授权
摘要
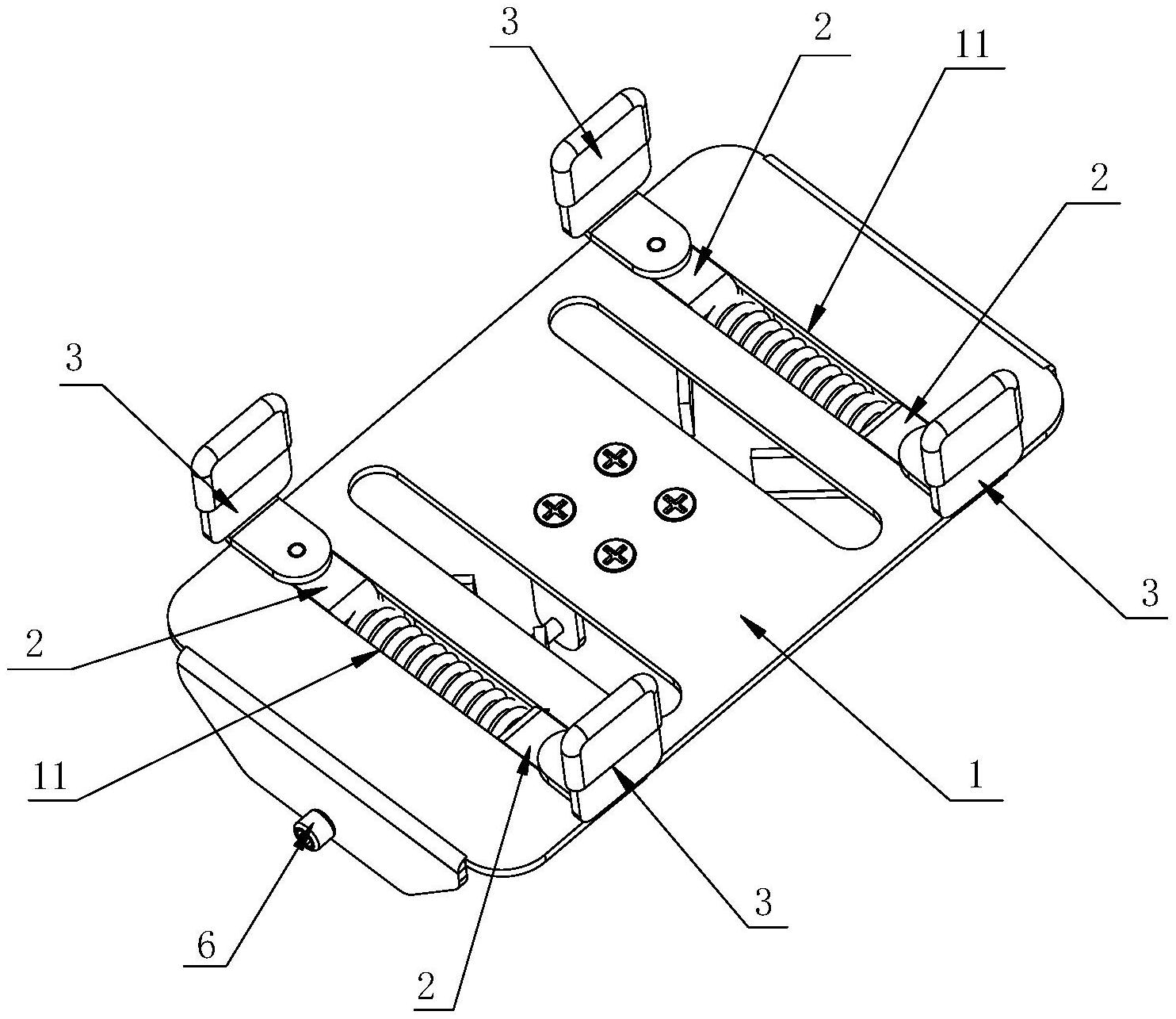
一种终端设备支架,用于固定终端设备,包括基座、滑座和卡爪,基座前部和后部均具有沿左右方向设置的滑槽;滑座具有四个,同一滑槽中滑动装配有两个滑座;卡爪具有四个,分别转动安装在对应滑座,滑槽中的两个滑座相向移动时,对应两个卡爪夹持固定终端设备。本实用新型实施例中通过卡爪对终端设备进行夹持固定,并且卡爪能够转动,从而能够匹配终端设备不同的外形形状,通用性较强,支架整体的结构简单,成本低廉。


