授权公布号:CN217945765U
一种可快速拆装的枕式包装机热封装置
有效
申请
2022-08-05
申请公布
1970-01-01
授权
2022-12-02
预估到期
2032-08-05
| 申请号 | CN202222063469.2 |
| 申请日 | 2022-08-05 |
| 授权公布号 | CN217945765U |
| 授权公告日 | 2022-12-02 |
| 分类号 | B65B51/10 |
| 分类 | 输送;包装;贮存;搬运薄的或细丝状材料; |
| 申请人名称 | 苏州马培德办公用品制造有限公司 |
| 申请人地址 | 江苏省苏州市昆山开发区南浜路539号 |
专利法律状态
2022-12-02
授权
状态信息
授权
摘要
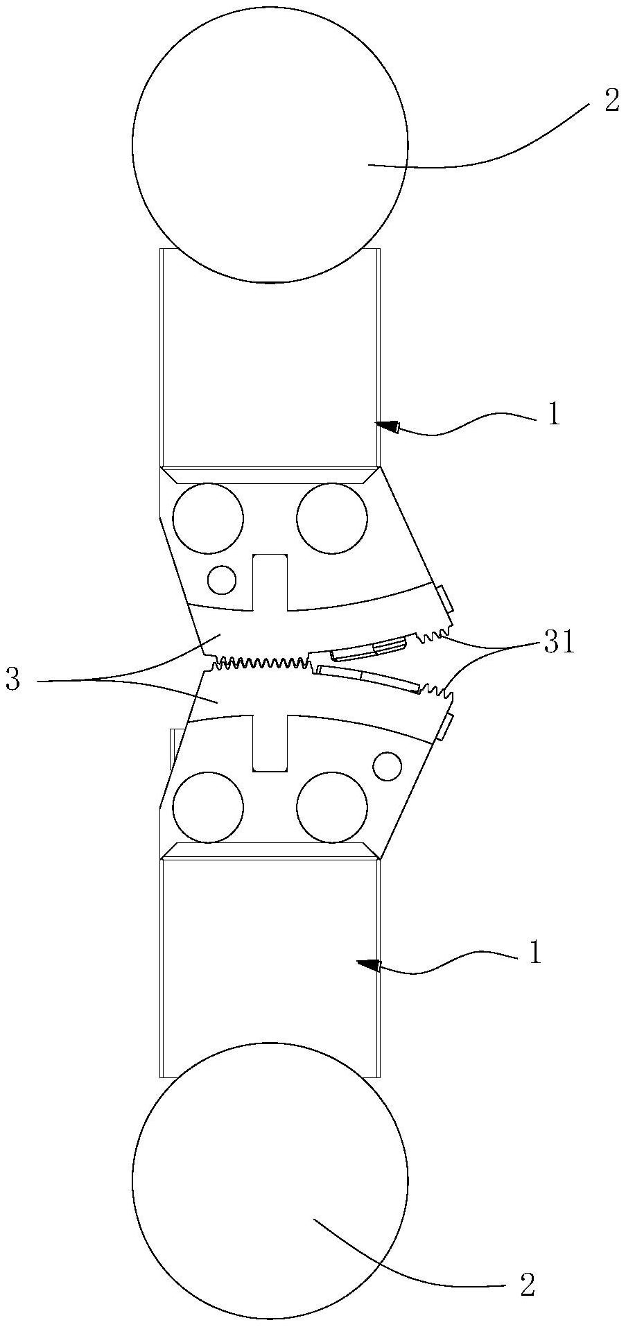
本实用新型涉及包装机技术领域,具体公开了一种可快速拆装的枕式包装机热封装置。该枕式包装机热封装置包括上下设置的两个基座,两个基座的相背离侧分别与平行设置的两个驱动轴连接,两个基座的相对侧均可拆卸连接有热封板,两个热封板的相对面为外凸的弧形的热封面,且热封面的中心轴线与对应的驱动轴的中心轴线共线;基座内埋设有温度传感器及至少一个加热棒。该枕式包装机热封装置能够节约拆装及调试时间,降低零部件意外损坏风险,并避免人体烫伤。


