授权公布号:CN212920913U
一种可以站立的动物形象迷你荧光笔
有效
申请
2020-05-12
申请公布
1970-01-01
授权
2021-04-09
预估到期
2030-05-12
| 申请号 | CN202020778490.9 |
| 申请日 | 2020-05-12 |
| 授权公布号 | CN212920913U |
| 授权公告日 | 2021-04-09 |
| 分类号 | B43K3/00;B43K23/08 |
| 分类 | 书写或绘图器具;办公用品; |
| 申请人名称 | 苏州马培德办公用品制造有限公司 |
| 申请人地址 | 江苏省苏州市昆山开发区南浜路539号 |
专利法律状态
2021-04-09
授权
状态信息
授权
摘要
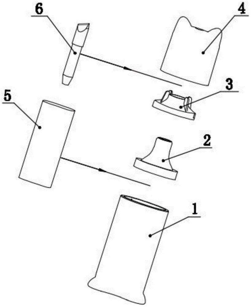
本实用新型公开了一种可以站立的动物形象迷你荧光笔,属于文具技术领域。包括:笔杆的一端部外侧设置有若干凸起,若干凸起与笔杆的该端部处于同一水平面,且笔杆的另一端部开设有第一安装腔,第一安装腔内嵌设有卷包芯,笔头的一端与卷包芯连接。笔帽的一端设置有动物造型,且笔帽的另一端部开设有第二安装腔,第二安装腔可包覆在笔头的外侧。本实用新型提供的一种可以站立的动物形象迷你荧光笔,能使荧光笔站立在桌面上,且同时能避免荧光笔在桌面上滚动。


