授权公布号:CN220372428U
一种基于万能造型笔类焊接加工的固定装置
有效
申请
2023-04-17
申请公布
1970-01-01
授权
2024-01-23
预估到期
2033-04-17
| 申请号 | CN202320856847.4 |
| 申请日 | 2023-04-17 |
| 授权公布号 | CN220372428U |
| 授权公告日 | 2024-01-23 |
| 分类号 | B23K20/26;B23K20/10 |
| 分类 | 机床;不包含在其他类目中的金属加工; |
| 申请人名称 | 苏州马培德办公用品制造有限公司 |
| 申请人地址 | 江苏省苏州市昆山开发区南浜路539号 |
专利法律状态
2024-01-23
授权
状态信息
授权
摘要
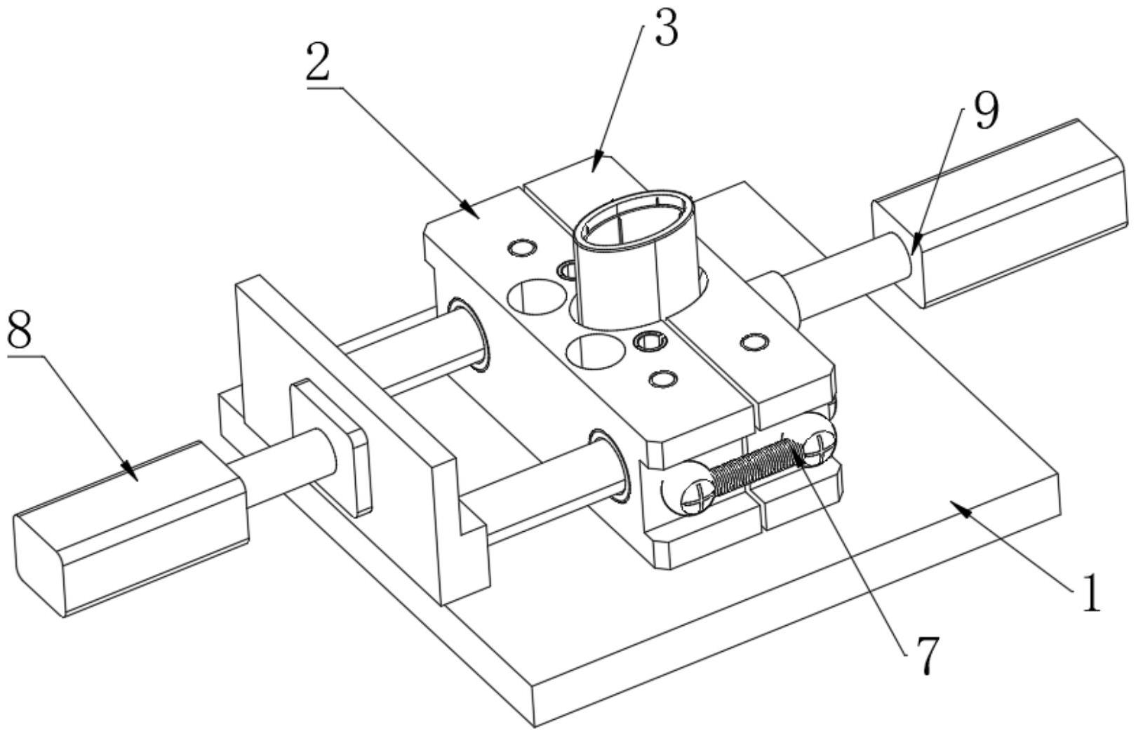
本实用新型公开了一种基于万能造型笔类焊接加工的固定装置,涉及万能造型笔类焊接加工技术领域,包括固定安装在加工台上的固定型腔件、活动安装在加工台上的活动型腔件,所述固定型腔件和活动型腔件相对的一侧均开设有槽口,当活动型腔件贴紧固定型腔件一侧时,两个槽口形成用于夹持产品的加工槽。本实用新型提供的基于万能造型笔类焊接加工的固定装置通过活动型腔件和固定型腔件的设置改变了现有技术中是通过一个完整的固定型腔件对产品进行加工的方式,具体通过活动型腔件一侧的导杆在固定型腔件上的通孔活动连接方式从而改变固定型腔件与活动型腔件之间形成的加工槽大小,能够对不同规格的笔杆进行固定。


