授权公布号:CN214688676U
无线翻页装置
有效
申请
2020-12-03
申请公布
1970-01-01
授权
2021-11-12
预估到期
2030-12-03
| 申请号 | CN202022899331.7 |
| 申请日 | 2020-12-03 |
| 授权公布号 | CN214688676U |
| 授权公告日 | 2021-11-12 |
| 分类号 | B42D9/04;G09B17/02 |
| 分类 | 装订;图册;文件夹;特种印刷品; |
| 申请人名称 | 深圳市睿思聪科技有限公司 |
| 申请人地址 | 广东省深圳市宝安区西乡街道桃源社区臣田航城工业区A1栋407北边 |
专利法律状态
2021-11-12
授权
状态信息
授权
摘要
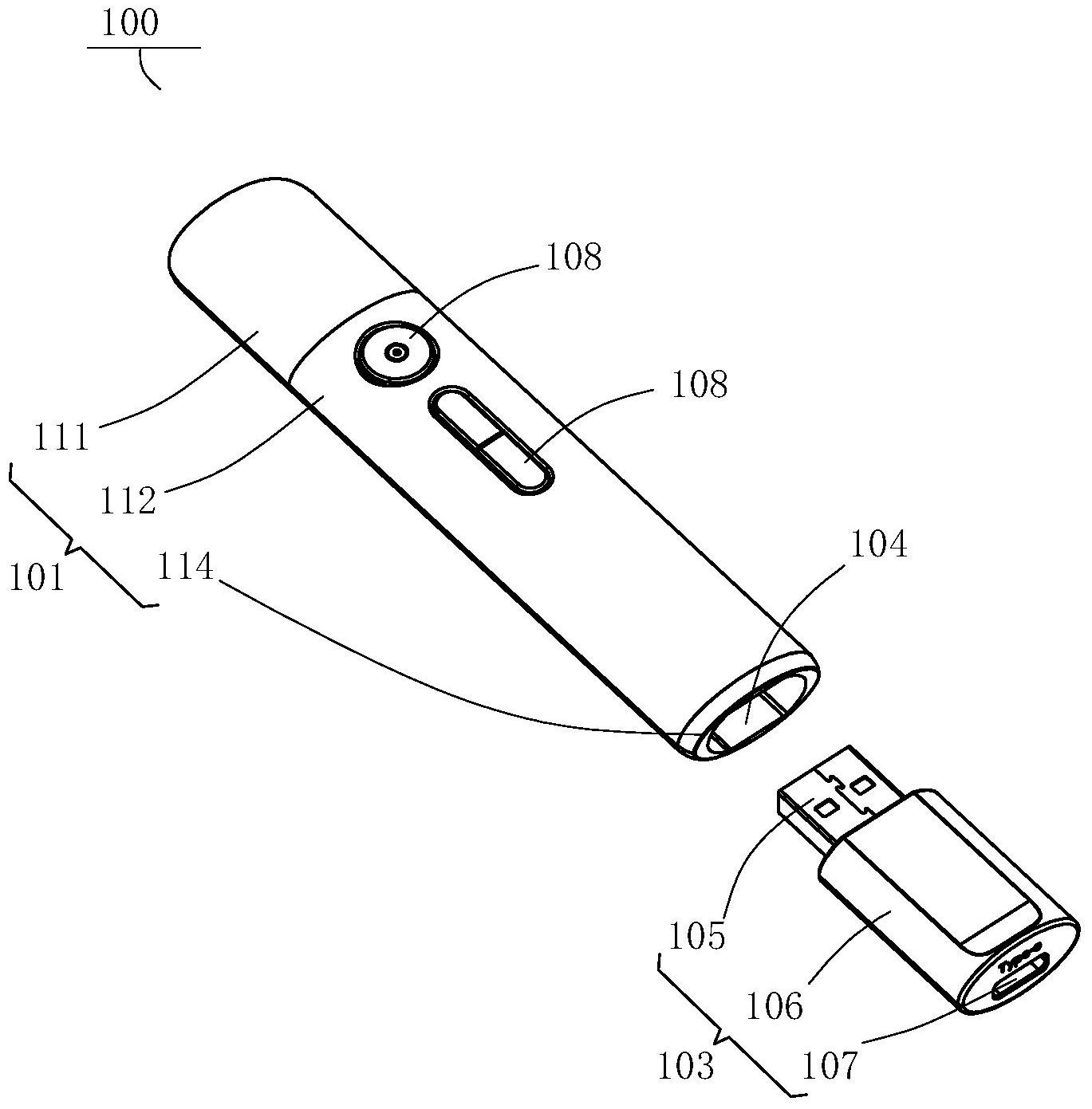
本实用新型公开了一种无线翻页装置,包括外壳、主控电路板、充电电池和无线接收器。外壳内设有容纳腔,外壳上设有连通容纳腔的开口,无线接收器包括插口和包覆壳,包覆壳设置有充电接口,充电接口与插口电性连接,其中,无线接收器能够通过开口可插拔的与外壳的内壁连接,以容置于容纳腔或从容纳腔中取出,当无线接收器容纳于容纳腔时,充电接口外露与外壳的外部,插口与主控电路板电性连接。由于将给无线翻页装置充电用的充电接口设置在独立于无线翻页装置的无线接收器上,可以避免在无线翻页装置的外壳上开设开口结构,从而可以使得无线翻页装置的外观设计更为整体和统一,能够提高无线翻页装置的外观设计的美观度。


