授权公布号:CN213934830U
翻页笔
有效
申请
2020-11-18
申请公布
1970-01-01
授权
2021-08-10
预估到期
2030-11-18
| 申请号 | CN202022678981.9 |
| 申请日 | 2020-11-18 |
| 授权公布号 | CN213934830U |
| 授权公告日 | 2021-08-10 |
| 分类号 | G06F3/0354;G09B17/02 |
| 分类 | 计算;推算;计数; |
| 申请人名称 | 深圳市睿思聪科技有限公司 |
| 申请人地址 | 广东省深圳市宝安区西乡街道桃源社区臣田航城工业区A1栋407北边 |
专利法律状态
2021-08-10
授权
状态信息
授权
摘要
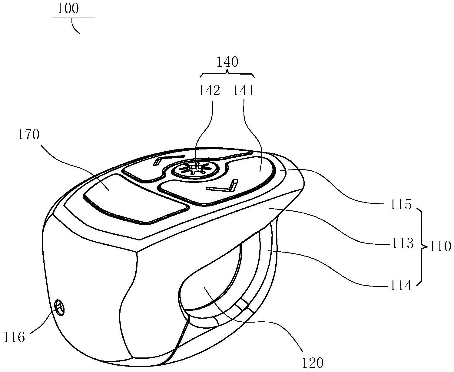
本实用新型公开了一种翻页笔,翻页笔包括壳体组件,且壳体组件在其外部围绕形成有指环孔,指环孔适于由人体的手指穿过,壳体组件在其内部限定有安装腔,壳体组件在指环孔相背离的一侧设有与安装腔连通的按键孔,翻页笔还包括线路板和按键组件,其中,线路板安装于安装腔内,并与壳体组件连接,按键组件与线路板连接,并嵌设于按键孔。由此,演示人员可以通过该指环孔将翻页笔穿戴于手指,携带十分方便,便于演示人员进行各类演示。


