授权公布号:CN215817963U
模拟仿真三相交流电源装置
有效
申请
2021-03-30
申请公布
1970-01-01
授权
2022-02-11
预估到期
2031-03-30
| 申请号 | CN202120643421.1 |
| 申请日 | 2021-03-30 |
| 授权公布号 | CN215817963U |
| 授权公告日 | 2022-02-11 |
| 分类号 | H02M7/44;H02M5/12;H02M7/48;H02H7/122 |
| 分类 | 发电、变电或配电; |
| 申请人名称 | 武汉市腾亚科技有限公司 |
| 申请人地址 | 湖北省武汉市东湖新技术开发区东一产业园光谷大道金融后台服务中心基地建设项目二期2.7期B26幢2层1、2号 |
专利法律状态
2022-02-11
授权
状态信息
授权
摘要
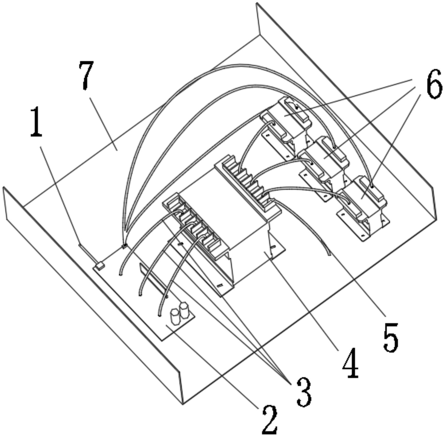
本实用新型涉及模拟仿真电源技术领域,具体为模拟仿真三相交流电源装置,包括装置底板外壳,所述装置底板外壳上安装有逆变主控模块和三相工频变压器,所述逆变主控模块的输出端通过三相导线与三相工频变压器的输入端连接,所述逆变主控模块通过逆变主控模块供电端口接收直流电,所述三相工频变压器上连接有零线;所述逆变主控模块用于将直流转变成三相交流电,所述三相工频变压器用于对三相交流电三相升压滤波,并输出三相四线制交流电。本实用新型将模拟仿真设备的电压控制在国家规定安全电压以下,降低了使用模拟仿真设备用电安全风险。大大减少了用电安全事故。


