授权公布号:CN218159162U
现金循环处理设备
有效
申请
2022-07-05
申请公布
1970-01-01
授权
2022-12-27
预估到期
2032-07-05
| 申请号 | CN202221730824.0 |
| 申请日 | 2022-07-05 |
| 授权公布号 | CN218159162U |
| 授权公告日 | 2022-12-27 |
| 分类号 | G07D11/12;G07D11/13;G07D11/18;G07D11/10;G07D11/50;G07D7/00;E05G1/02;E05G1/06 |
| 分类 | 核算装置; |
| 申请人名称 | 山东新北洋信息技术股份有限公司 |
| 申请人地址 | 山东省威海市火炬高技术产业开发区火炬路169号 |
专利法律状态
2022-12-27
授权
状态信息
授权
摘要
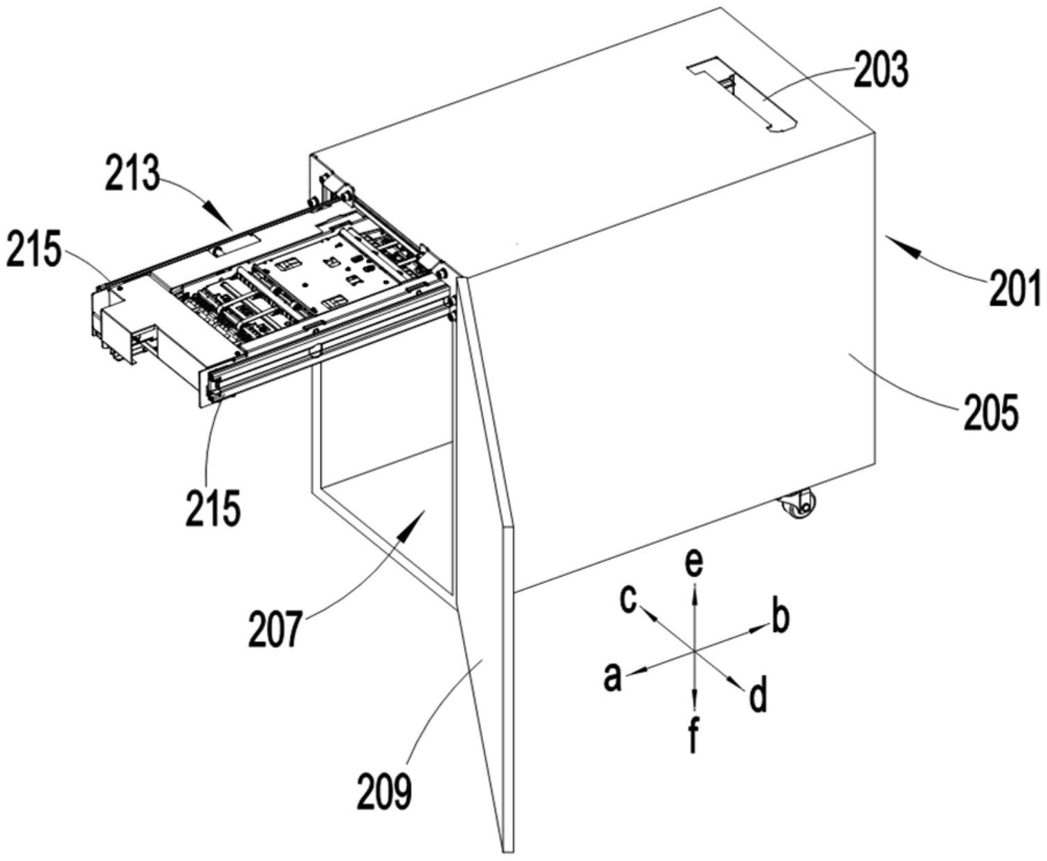
本实用新型提供一种现金循环处理设备,涉及金融设备技术领域。该现金循环处理设备包括上部装置和下部装置,上部装置包括上部输送通道;下部装置包括保险柜、与保险柜的内壁活动连接的第一基架和设置于保险柜内的多个钞箱;第一基架设有下部输送通道和多个均能与下部输送通道连通的分支通道;当第一基架位于第一拉出位置时,第一基架至少部分地伸出至保险柜外;当第一基架位于第一缩回位置时,第一基架全部缩回至保险柜内,嵌设于保险柜的顶壁的中间输送通道连通上部输送通道和下部输送通道,多个分支通道与多个钞箱一一对应地连通。本实用新型提供的现金循环处理设备的第一基架能被拉出保险柜,以方便对下部输送通道及各分支通道进行维护。


