授权公布号:CN210257688U
一种色带架装配平台及色带架输送机构
有效
申请
2019-04-01
申请公布
1970-01-01
授权
2020-04-07
预估到期
2029-04-01
| 申请号 | CN201920431230.1 |
| 申请日 | 2019-04-01 |
| 授权公布号 | CN210257688U |
| 授权公告日 | 2020-04-07 |
| 分类号 | B41J35/00 |
| 分类 | 印刷;排版机;打字机;模印机〔4〕; |
| 申请人名称 | 佛山市顺德区高宝实业发展有限公司 |
| 申请人地址 | 广东省佛山市顺德区容桂街道吉庆路8号 |
专利法律状态
2020-04-07
授权
状态信息
授权
摘要
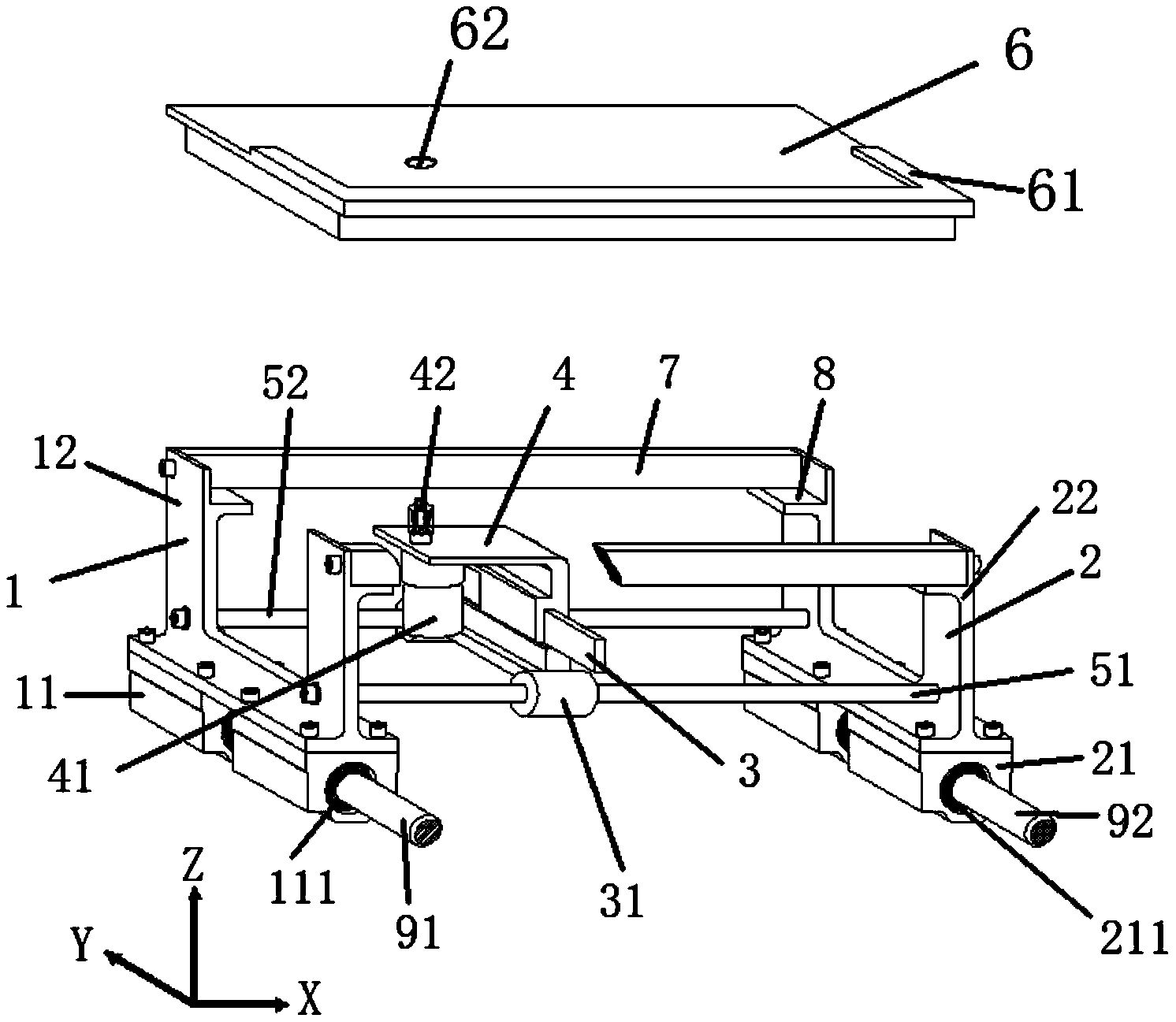
本实用新型公开了一种色带架装配平台及色带架输送机构,该色带架装配平台包括镜像设置的第一支撑座和第二支撑座、滑动机构以及驱动元件;所述滑动机构包括滑动部件、滑块和电机支架,所述滑动部件固定在所述第一支撑座和所述第二支撑座之间,所述滑块沿X轴方向滑动设置在所述滑动部件上,所述电机支架沿Y轴方向滑动设置在所述滑块上,所述驱动元件设置在所述电机支架上,且所述驱动元件的输出端设置有竖直向上的收带批头;所述收带批头的位置可以在所述第一支撑座和所述第二支撑座之间进行二维调节,从而可以匹配不同的装配模板,对不同款式的色带架进行收带处理,具有很好的通用性。


