授权公布号:CN217069328U
一种工业胶带单面离型片材补湿设备
有效
申请
2022-01-20
申请公布
1970-01-01
授权
2022-07-29
预估到期
2032-01-20
| 申请号 | CN202220157245.5 |
| 申请日 | 2022-01-20 |
| 授权公布号 | CN217069328U |
| 授权公告日 | 2022-07-29 |
| 分类号 | B05B13/02;B05B12/00;B05B14/00 |
| 分类 | 一般喷射或雾化;对表面涂覆液体或其他流体的一般方法〔2〕; |
| 申请人名称 | 罗曼胶带技术(天津)有限公司 |
| 申请人地址 | 天津市滨海新区经济技术开发区睦宁路231号 |
专利法律状态
2022-07-29
授权
状态信息
授权
摘要
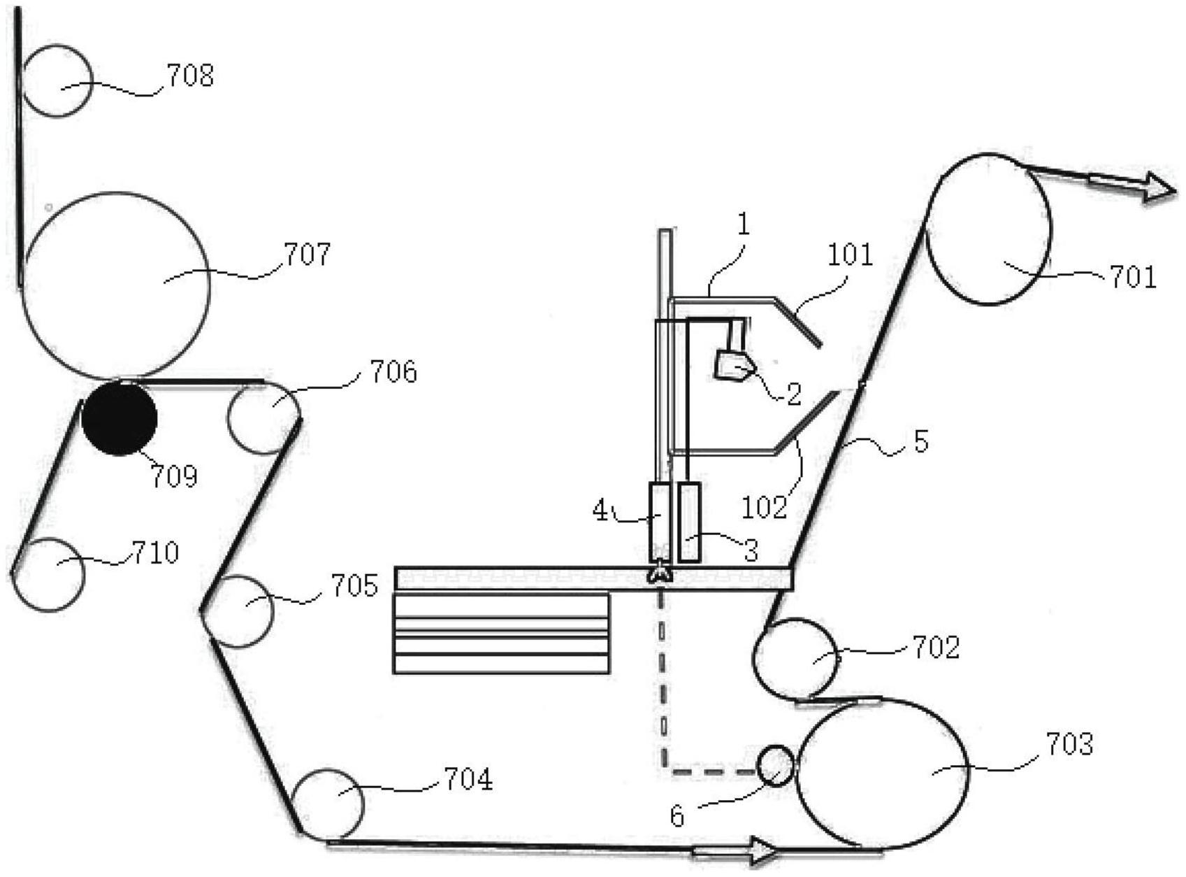
本实用新型涉及一种工业胶带单面离型片材补湿设备,包括多个雾化喷嘴及一速度传感器、所述多个雾化喷嘴均朝向离型片材,所述速度传感器安装在离型片材的传送辊上,所述速度传感器通过信号线与PLC控制器连接,所述PLC控制器与所述水泵连接,实现喷水速率与生产速度匹配。本实用新型补湿设备有效控制了离型片材的含水率。通过进气量的调整能够实现喷嘴出水量的控制,确保补湿水量。产品的合格率从原来的80%提升到了95%以上,有效地解决了因产品不良造成的能源、材料损耗问题。


