授权公布号:CN217466530U
用于双面胶带冲击测试的制样治具
有效
申请
2022-05-06
申请公布
1970-01-01
授权
2022-09-20
预估到期
2032-05-06
| 申请号 | CN202221058846.7 |
| 申请日 | 2022-05-06 |
| 授权公布号 | CN217466530U |
| 授权公告日 | 2022-09-20 |
| 分类号 | G01N3/30;G01N3/02;G01N1/28 |
| 分类 | 测量;测试; |
| 申请人名称 | 罗曼胶带技术(天津)有限公司 |
| 申请人地址 | 天津市滨海新区经济技术开发区睦宁路231号 |
专利法律状态
2022-09-20
授权
状态信息
授权
摘要
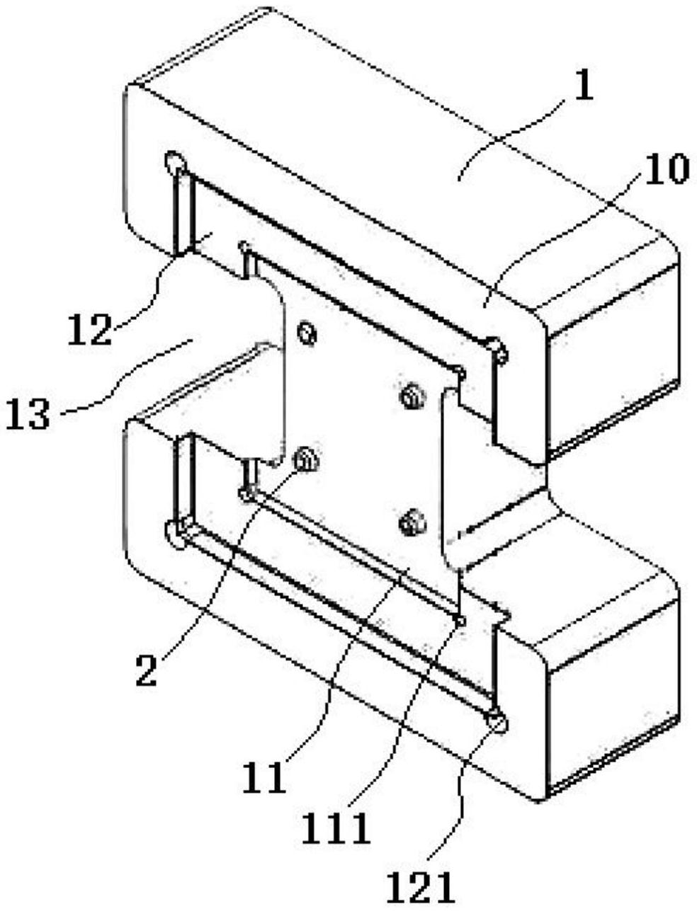
本实用新型涉及一种用于双面胶带冲击测试的制样治具,包括:本体,具有一基准面;第一定位槽,所述第一定位槽具有第一深度;第二定位槽,所述第二定位槽围绕所述第一定位槽设置,所述第二定位槽具有第二深度;所述第二深度小于第一深度;多个弹簧定位销,所述多个弹簧定位销嵌装在所述第一定位槽的底面;两个开口槽,所述两个开口槽分别制在所述两个侧面,两个开口槽均与所述第一定位槽及第二定位槽连通。本实用新型用于双面胶带冲击测试的制样治具彻底避免了贴合操作的差异,能够同时保证测试结果的稳定性、准确性和连续性。对于分析胶带性能和应用场景的模拟测试都有很好的效果。


