授权公布号:CN219172027U
一种热熔装订装置
有效
申请
2023-01-05
申请公布
1970-01-01
授权
2023-06-13
预估到期
2033-01-05
| 申请号 | CN202320021465.X |
| 申请日 | 2023-01-05 |
| 授权公布号 | CN219172027U |
| 授权公告日 | 2023-06-13 |
| 分类号 | B42B5/00 |
| 分类 | 装订;图册;文件夹;特种印刷品; |
| 申请人名称 | 深圳市千页百汇办公设备有限公司 |
| 申请人地址 | 广东省深圳市龙华区大浪街道龙平社区祥昭大厦5号1605 |
专利法律状态
2023-06-13
授权
状态信息
授权
摘要
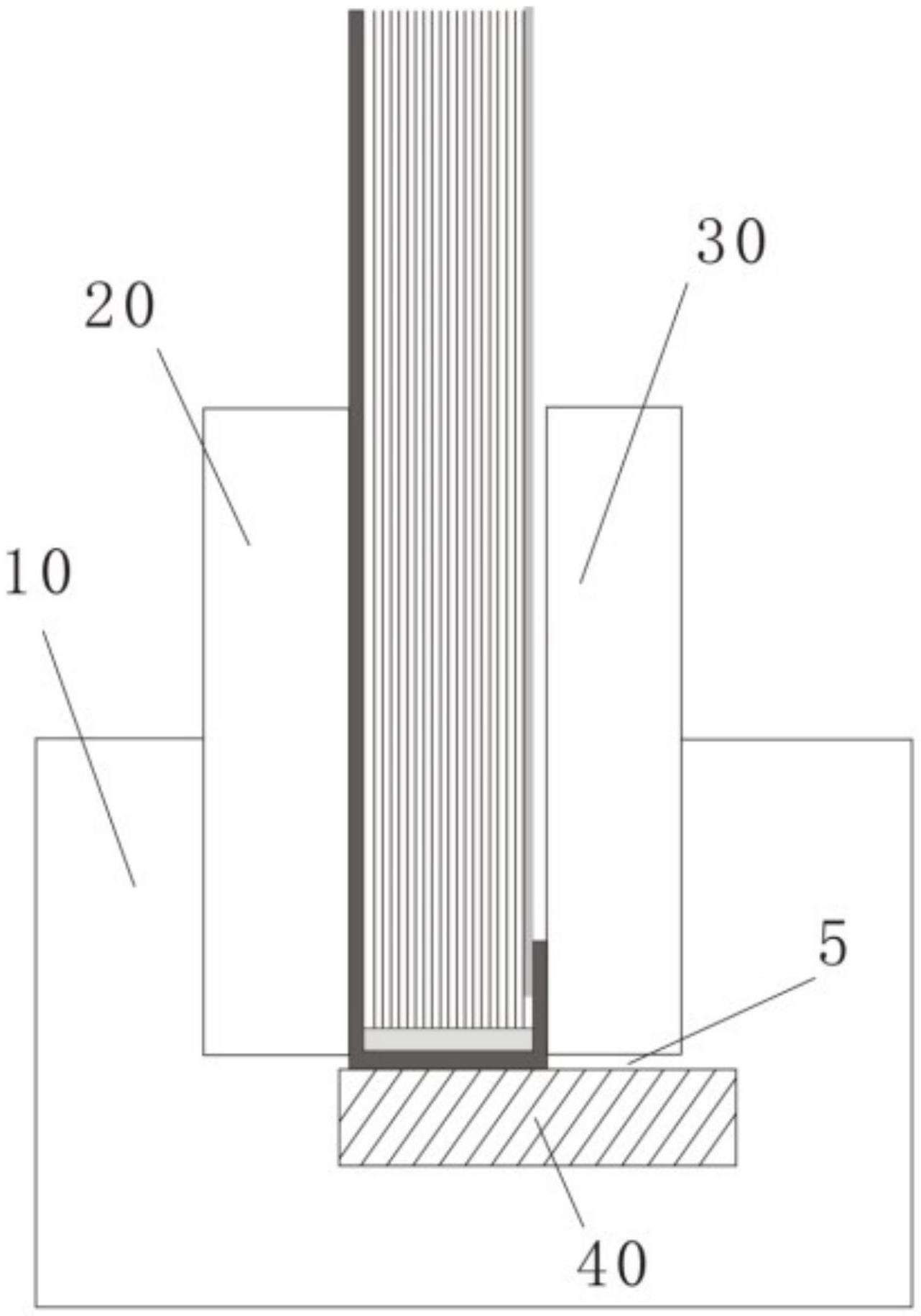
本实用新型提供了一种热熔装订装置,包括底座、第一夹紧板、第二夹紧板以及加热板,所述第一夹紧板以及所述第二夹紧板竖直连接于所述底座上并形成夹紧封套的夹持腔,所述加热板固定于所述底座上且处于所述夹持腔的底部,所述封套的卡纸与透明胶片的粘接处贴紧于工作状态中的第二夹紧板。通过第一夹紧板以及第二夹紧板夹紧封套,将卡纸与透明胶片的粘接处贴紧于第二夹紧板,使透明胶片与卡纸的粘接处被紧紧贴合以阻止或减缓发热板的热量影响,而避免透明胶片受热变形。本方案的第一夹紧板、第二夹紧板与加热板之间的位置关系布置可以实现封套文本更美观的热熔装订。


