授权公布号:CN208148873U
一种精装文本装订用封套
有效
申请
2018-04-17
申请公布
1970-01-01
授权
2018-11-27
预估到期
2028-04-17
| 申请号 | CN201820548477.7 |
| 申请日 | 2018-04-17 |
| 授权公布号 | CN208148873U |
| 授权公告日 | 2018-11-27 |
| 分类号 | B42C9/00;B42C19/00 |
| 分类 | 装订;图册;文件夹;特种印刷品; |
| 申请人名称 | 深圳市千页百汇办公设备有限公司 |
| 申请人地址 | 广东省深圳市龙华新区大浪街道和平西路龙军工业区第10栋3、4层 |
专利法律状态
2018-11-27
授权
状态信息
授权
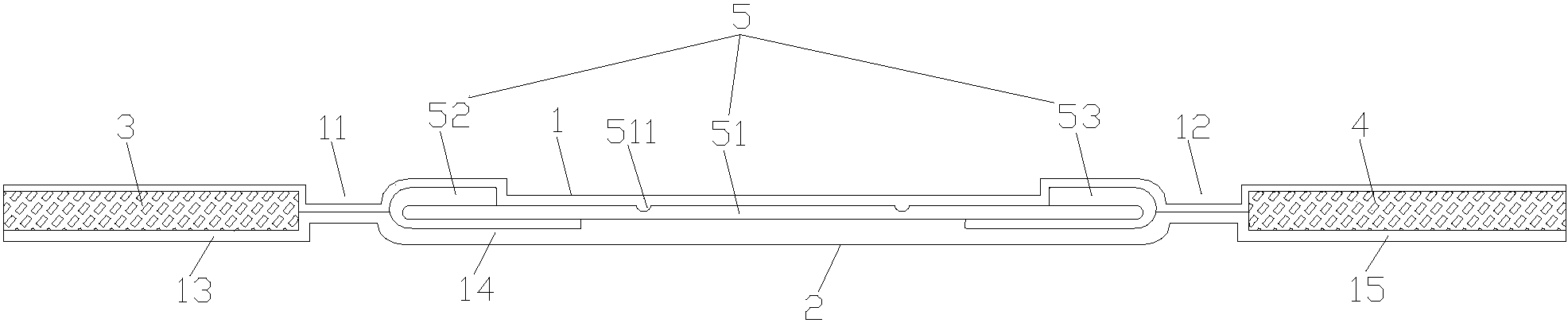
摘要
本实用新型公开了一种精装文本装订用封套,包括有里包料、外包料、第一内衬板、第二内衬板、封脊板,里包料与外包料部分平行无缝贴合固定形成第一连接部与第二连接部,封脊板包括有钢板、第一胶带、第二胶带,钢板上设置有凹槽,封脊板通过成型设备压制成U形的封脊槽。这样的设置使文本的装订更加稳固,耐用性更好,而且采用该封套不需要对文本的内芯再进行任何打孔或胶粘的装订工作,文本内芯与封套的连接也不需要打孔、胶粘,其不仅装订快速,省去制作精装封套的大量时间,使用时通过专用装订机还可拆换页,而且装订精美,能够满足人们对精装文本的品质追求。


