授权公布号:CN220467042U
覆面机气动压底纸机构
有效
申请
2023-07-17
申请公布
1970-01-01
授权
2024-02-09
预估到期
2033-07-17
| 申请号 | CN202321866163.9 |
| 申请日 | 2023-07-17 |
| 授权公布号 | CN220467042U |
| 授权公告日 | 2024-02-09 |
| 分类号 | B65H23/16;B65H20/02 |
| 分类 | 输送;包装;贮存;搬运薄的或细丝状材料; |
| 申请人名称 | 上海德拉根印刷机械有限公司 |
| 申请人地址 | 上海市青浦区朱家角镇朱枫公路1220号 |
专利法律状态
2024-02-09
授权
状态信息
授权
摘要
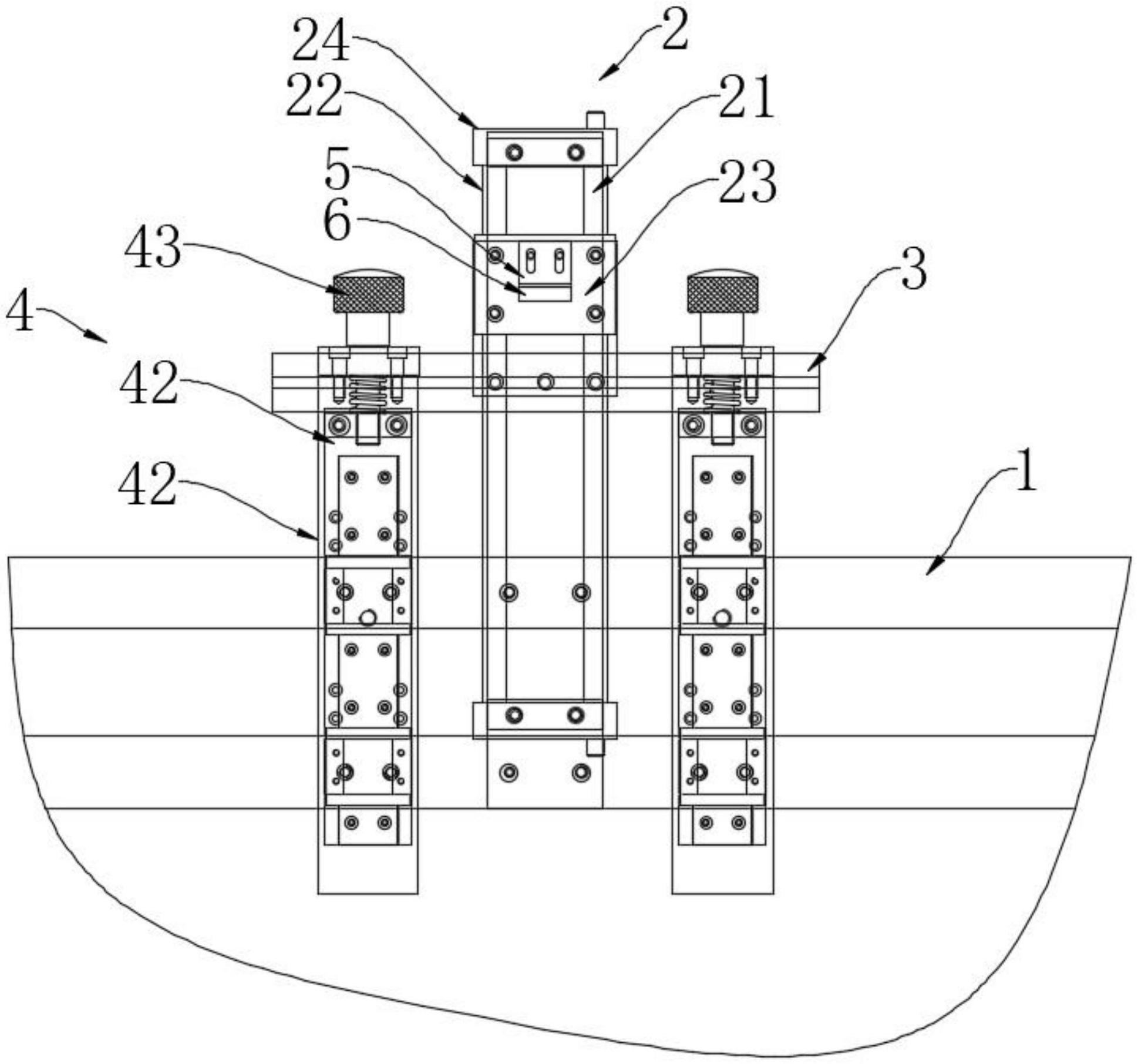
本申请属于纸品加工技术领域,公开了一种覆面机气动压底纸机构,包括横向支撑杆、气动组件和压纸横杆,所述横向支撑杆固定连接在覆面机左右墙板上,所述压纸横杆通过气动组件活动连接在横向支撑杆的一侧,所述横向支撑杆在位于气动组件的两侧活动连接有导向组件。本申请通过气动组件驱动压纸横杆压在底纸纸堆上平面,给底纸堆施加一定的压力,将变形较大的底纸前端压平,随着底纸皮带的转动,在导向杆底部斜面以及吸风箱吸力的作用下,顺利的将底张输送到输纸辊,完成底纸的输送,解决了底纸形变较大时,无法顺利输送,通常需要停机调整,严重影响生产效率和质量的问题。


