授权公布号:CN205555605U
全自动覆面机底纸输送系统
有效
申请
2016-03-31
申请公布
1970-01-01
授权
2016-09-07
预估到期
2026-03-31
| 申请号 | CN201620260833.6 |
| 申请日 | 2016-03-31 |
| 授权公布号 | CN205555605U |
| 授权公告日 | 2016-09-07 |
| 分类号 | B65H3/12 |
| 分类 | 输送;包装;贮存;搬运薄的或细丝状材料; |
| 申请人名称 | 上海德拉根印刷机械有限公司 |
| 申请人地址 | 上海市青浦区朱家角工业区朱枫公路1220号 |
专利法律状态
2016-09-07
授权
状态信息
授权
摘要
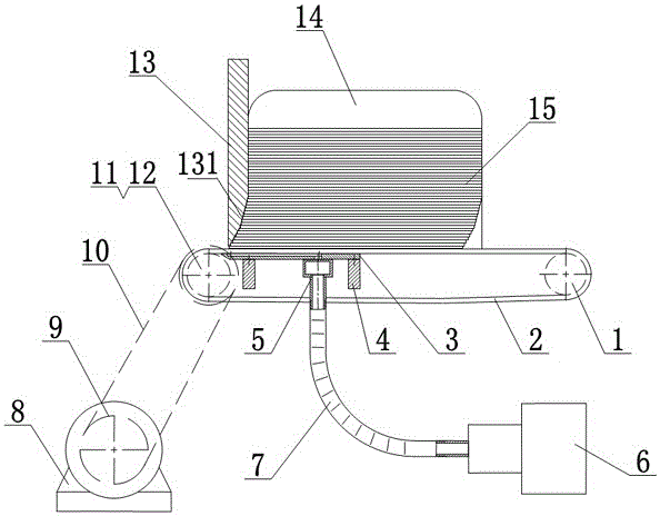
本实用新型公开了一种全自动覆面机底纸输送系统,包含:皮带被动辊、输送皮带、吸风斗、吸风斗固定距、吸风室、旋涡气泵、吸风管、底纸电机、电机链轮、链条、皮带主动辊、主动辊链轮、底纸前挡规、底纸侧挡规,还包含:吸风室,所述的吸风室与吸风管相连;吸风斗,所述的吸风斗与吸风室相连通,并将纸堆最下面的纸吸附在输送皮带上;吸风斗固定距,所述的吸风斗固定距固定吸风斗,使所述的吸风斗紧贴输送皮带。本实用新型通过改进吸风斗及前挡规结构,不仅满足瓦楞底纸的输送,而且还可以满足底纸为卡纸的吸风输送,提高了全自动覆面机的适应性。


