授权公布号:CN213646442U
叉车滑架焊接夹具
有效
申请
2020-10-16
申请公布
1970-01-01
授权
2021-07-09
预估到期
2030-10-16
| 申请号 | CN202022317819.4 |
| 申请日 | 2020-10-16 |
| 授权公布号 | CN213646442U |
| 授权公告日 | 2021-07-09 |
| 分类号 | B23K37/04 |
| 分类 | 机床;不包含在其他类目中的金属加工; |
| 申请人名称 | 浙江凯勋机电有限公司 |
| 申请人地址 | 浙江省温州市瑞安市南滨街道林垟林北工业区 |
专利法律状态
2021-07-09
授权
状态信息
授权
摘要
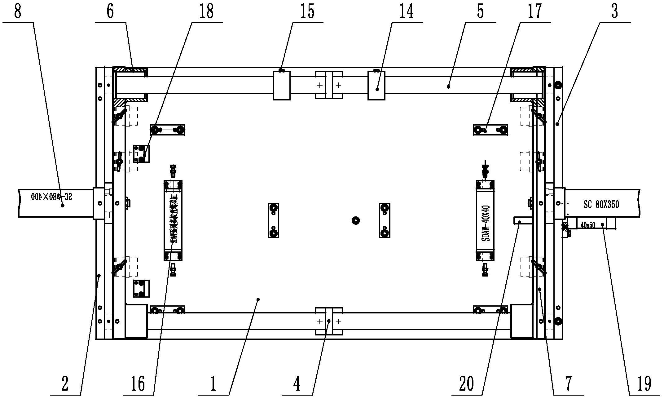
一种叉车滑架焊接夹具,包括底座,所述底座左固定座、右固定座,底座中间位置的上下两侧设有中定位座,左固定座与两个中定位座之间、右固定座与两个中定位座之间设有定位轴,定位轴上设有直线滚动轴承,同一侧的两个直线滚动轴承之间设有移动座,左固定座、右固定座上均设有第一气缸,第一气缸的活塞杆与与其相近的移动座相连接,能过推动移动座在定位轴上滑动,移动座上设有用于装夹定位滚轮轴的滚轮轴装夹装置;本实用新型具有结构简单、设计合理、能有效提高叉车滑架焊接精度与效率等优点。


