授权公布号:CN216356881U
一种高拍仪
有效
申请
2021-06-22
申请公布
1970-01-01
授权
2022-04-19
预估到期
2031-06-22
| 申请号 | CN202121385481.4 |
| 申请日 | 2021-06-22 |
| 授权公布号 | CN216356881U |
| 授权公告日 | 2022-04-19 |
| 分类号 | H04N1/04;H04N1/00;H04N5/225;H04N5/235 |
| 分类 | 电通信技术; |
| 申请人名称 | 深圳市新良田科技股份有限公司 |
| 申请人地址 | 广东省深圳市南山区科苑路清华信息港综合楼2层208室 |
专利法律状态
2022-04-19
授权
状态信息
授权
摘要
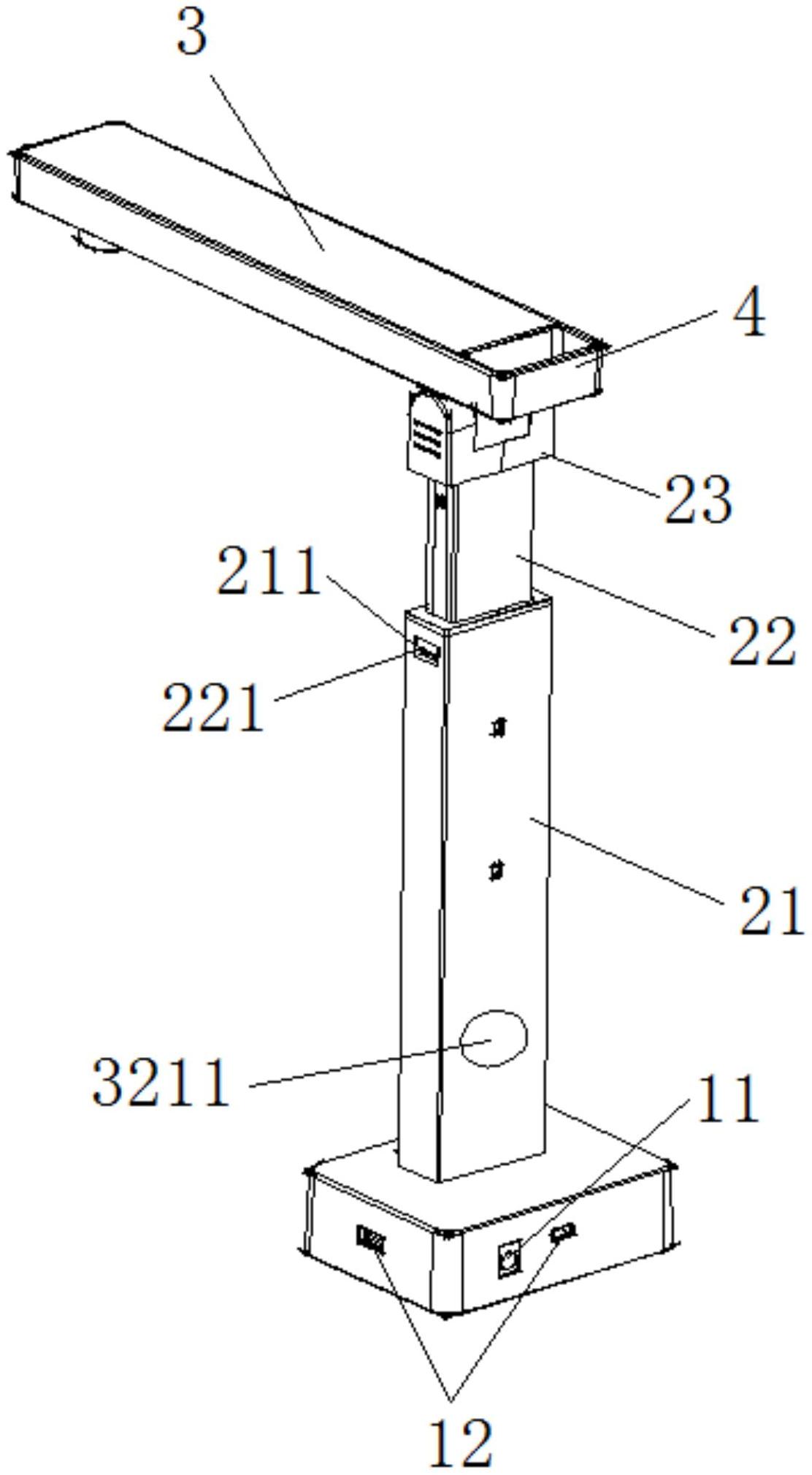
本实用新型涉及一种高拍仪,包括底座,所述底座上设有支撑杆,所述支撑杆远离底座的一端与横杆铰接,所述横杆远离支撑杆的一端底部上设有摄像头模块,所述摄像头模块靠近支撑杆的一侧开设有出光口,所述出光口上方设有补光灯带,所述补光灯带的输入端与驱动模块的输出端电连接,所述驱动模块的输入端与处理模块的输出端电连接,所述处理模块的输入端与调节旋钮电连接,所述调节旋钮用于控制驱动模块输出不同档位电流值;所述摄像头模块与补光灯带单独控制,通过调节旋钮可以控制驱动模块输出不同档位的电流值从而调节补光灯的亮度,而且驱动模块使得补光灯在恒定电流状态下工作,有效解决现有所述高拍仪存在补光灯光暗且有频闪的问题。


