授权公布号:CN216696797U
一种方便施工可调节式感测光缆固定装置
有效
申请
2021-12-31
申请公布
1970-01-01
授权
2022-06-07
预估到期
2031-12-31
| 申请号 | CN202123418187.1 |
| 申请日 | 2021-12-31 |
| 授权公布号 | CN216696797U |
| 授权公告日 | 2022-06-07 |
| 分类号 | G02B6/44 |
| 分类 | 光学; |
| 申请人名称 | 广东聚纤缆通信股份有限公司 |
| 申请人地址 | 广东省广州市广州高新技术产业开发区科学城南翔一路68号第(1)栋三楼301房 |
专利法律状态
2022-06-07
授权
状态信息
授权
摘要
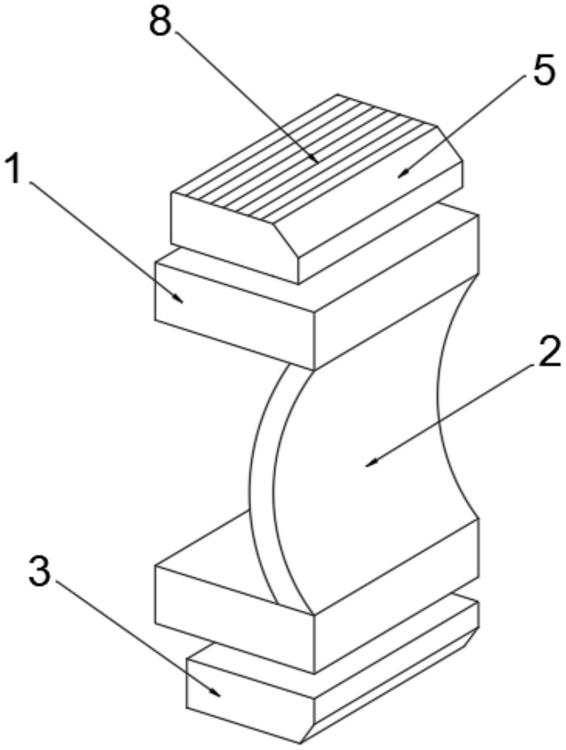
本实用新型实施方式提供一种方便施工可调节式感测光缆固定装置,属于光缆安装技术领域,包括两个固定块和一个弧形套,两个所述固定块上下位置对应,所述弧形套安装在两个固定套之间,且弧形套的两端位于固定块的边缘位置,弧形套向固定块的中间凹陷;每个所述固定块上均安装有卡紧组件。本实用新型能够通过摩擦牢牢固定住光缆的位置,保证安装过程中光缆不会从开槽中掉落,不仅结构简单,成本低廉,而且使用方便,可重复使用,大大减轻了操作负担。


